Официальное опубликование правовых актов
ОФИЦИАЛЬНОЕ ОПУБЛИКОВАНИЕ
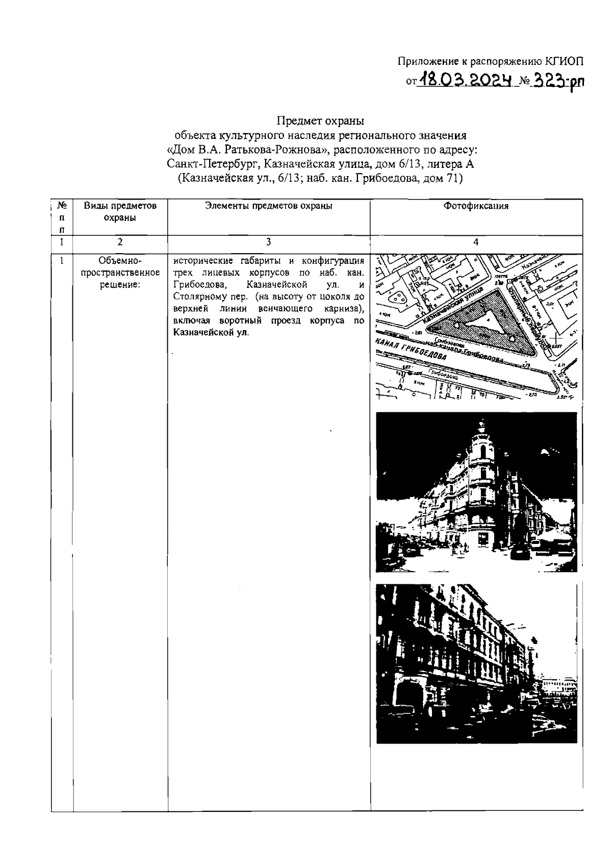
Распоряжение Комитета по государственному контролю, использованию и охране памятников истории и культуры Санкт-Петербурга от 18.03.2024 № 323-рп
"Об утверждении предмета охраны объекта культурного наследия регионального значения "Дом В.А. Ратькова-Рожнова"
(Зарегистрирован 18.03.2024 № 37283)
Номер опубликования: 7801202403220033
Дата опубликования: 22.03.2024
Страница №2 из 24:
Увеличить