Официальное опубликование правовых актов
ОФИЦИАЛЬНОЕ ОПУБЛИКОВАНИЕ
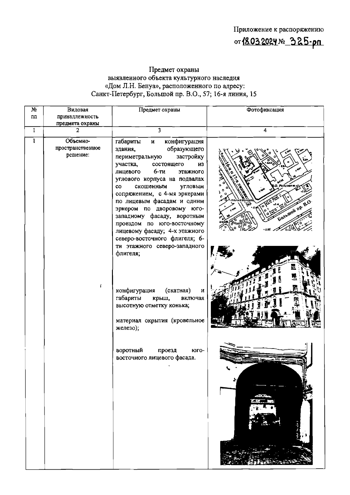
Распоряжение Комитета по государственному контролю, использованию и охране памятников истории и культуры Санкт-Петербурга от 18.03.2024 № 325-рп
"Об утверждении предмета охраны выявленного объекта культурного наследия "Дом Л.Н. Бенуа"
(Зарегистрирован 18.03.2024 № 37285)
Номер опубликования: 7801202403220031
Дата опубликования: 22.03.2024
Страница №2 из 17:
Увеличить