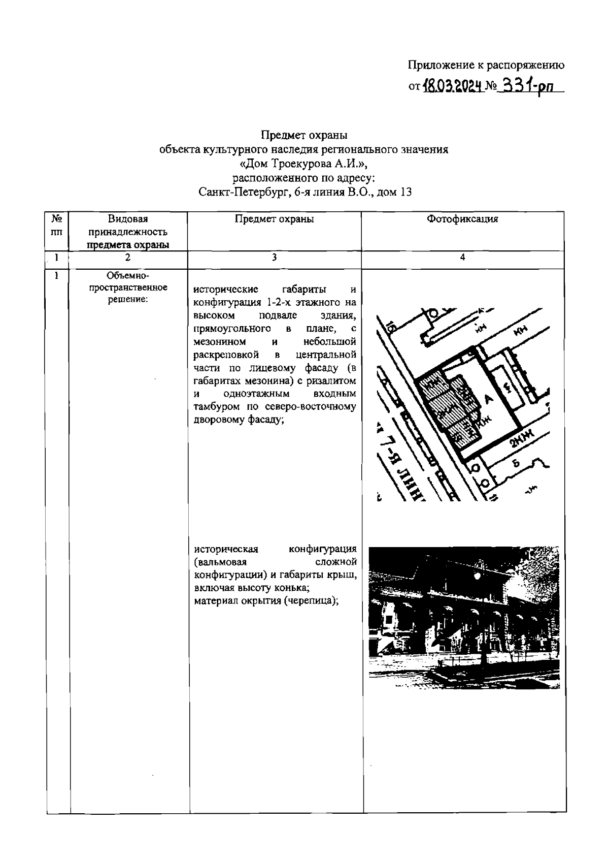
Распоряжение Комитета по государственному контролю, использованию и охране памятников истории и культуры Санкт-Петербурга от 18.03.2024 № 331-рп
"Об утверждении предмета охраны объекта культурного наследия регионального значения "Дом Троекурова А.И."
(Зарегистрирован 19.03.2024 № 37293)
"Об утверждении предмета охраны объекта культурного наследия регионального значения "Дом Троекурова А.И."
(Зарегистрирован 19.03.2024 № 37293)
Номер опубликования: 7801202403220026
Дата опубликования:
22.03.2024
