Официальное опубликование правовых актов
ОФИЦИАЛЬНОЕ ОПУБЛИКОВАНИЕ
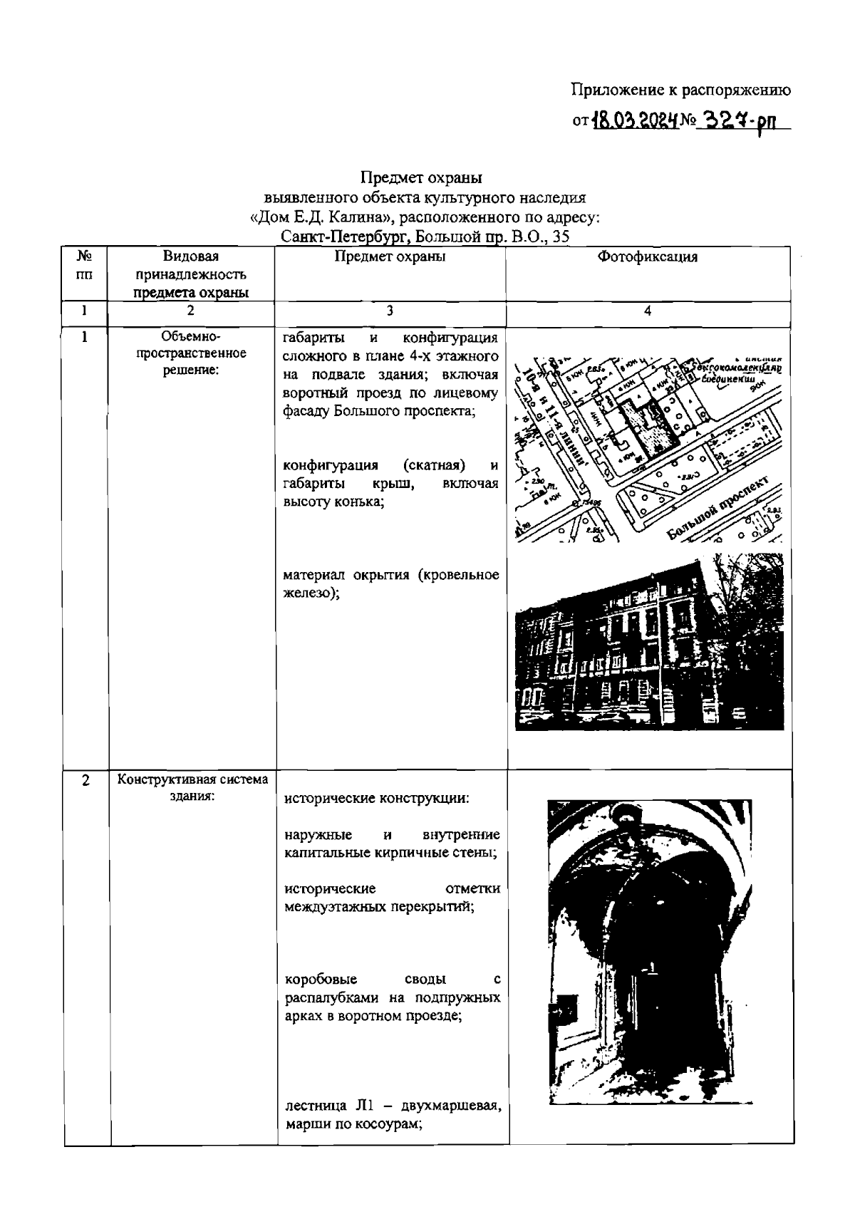
Распоряжение Комитета по государственному контролю, использованию и охране памятников истории и культуры Санкт-Петербурга от 18.03.2024 № 327-рп
"Об утверждении предмета охраны выявленного объекта культурного наследия "Дом Е.Д. Калина"
(Зарегистрирован 18.03.2024 № 37287)
Номер опубликования: 7801202403220010
Дата опубликования: 22.03.2024
Страница №2 из 6:
Увеличить