Официальное опубликование правовых актов
ОФИЦИАЛЬНОЕ ОПУБЛИКОВАНИЕ
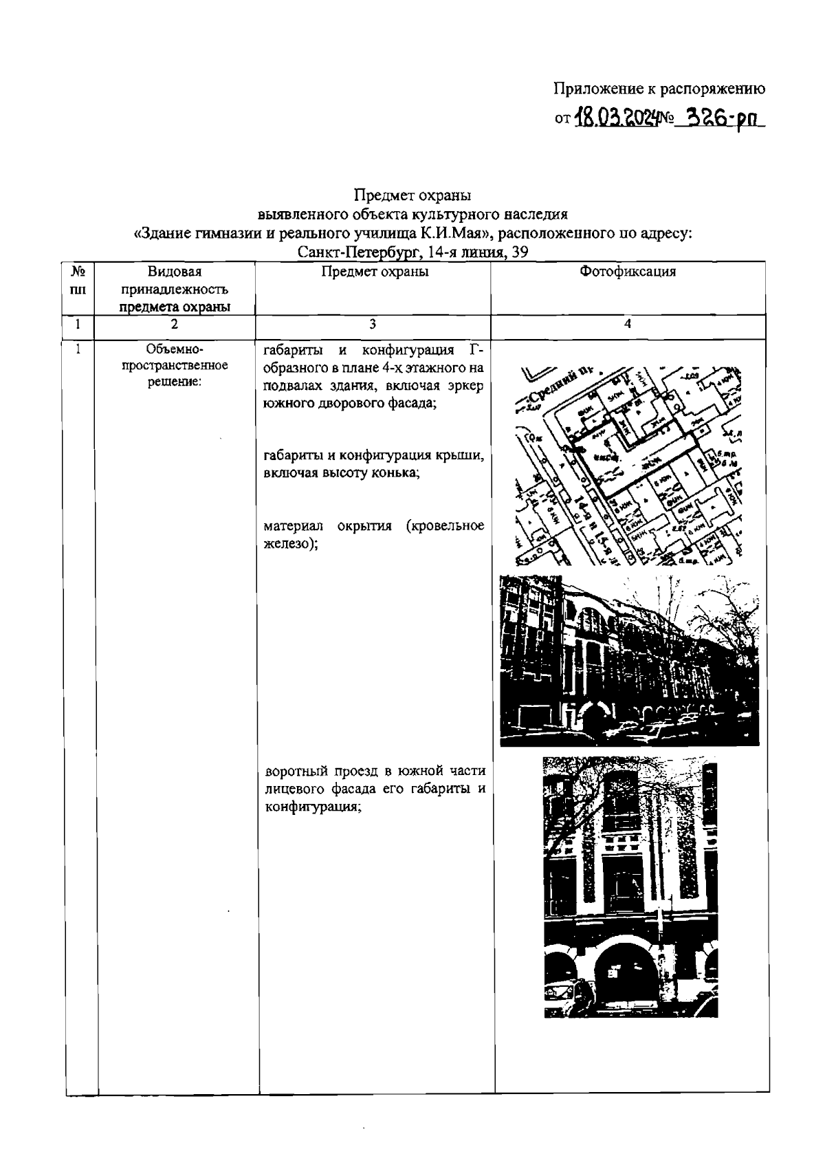
Распоряжение Комитета по государственному контролю, использованию и охране памятников истории и культуры Санкт-Петербурга от 18.03.2024 № 326-рп
"Об утверждении предмета охраны выявленного объекта культурного наследия "Здание гимназии и реального училища К.И.Мая"
(Зарегистрирован 18.03.2024 № 37286)
Номер опубликования: 7801202403220009
Дата опубликования: 22.03.2024
Страница №2 из 9:
Увеличить