Официальное опубликование правовых актов
ОФИЦИАЛЬНОЕ ОПУБЛИКОВАНИЕ
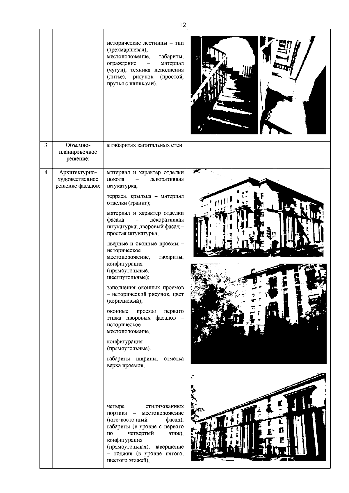
Распоряжение Комитета по государственному контролю, использованию и охране памятников истории и культуры Санкт-Петербурга от 18.03.2024 № 321-рп
"Об утверждении предмета охраны объекта культурного наследия регионального значения "Жилмассив на Ивановской улице"
(Зарегистрирован 18.03.2024 № 37281)
Номер опубликования: 7801202403220001
Дата опубликования: 22.03.2024
Страница №13 из 40:
Увеличить