Официальное опубликование правовых актов
ОФИЦИАЛЬНОЕ ОПУБЛИКОВАНИЕ
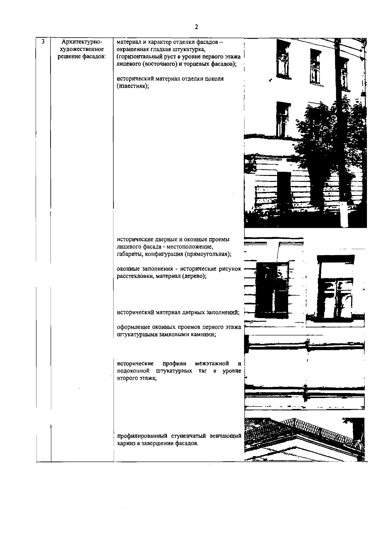
Распоряжение Комитета по государственному контролю, использованию и охране памятников истории и культуры Санкт-Петербурга от 11.03.2024 № 279-рп
"Об утверждении предмета охраны объекта культурного наследия регионального значения "Жилой дом купца Синебрюхова"
(Зарегистрирован 12.03.2024 № 37222)
Номер опубликования: 7801202403130013
Дата опубликования: 13.03.2024
Страница №3 из 3:
Увеличить