Официальное опубликование правовых актов
ОФИЦИАЛЬНОЕ ОПУБЛИКОВАНИЕ
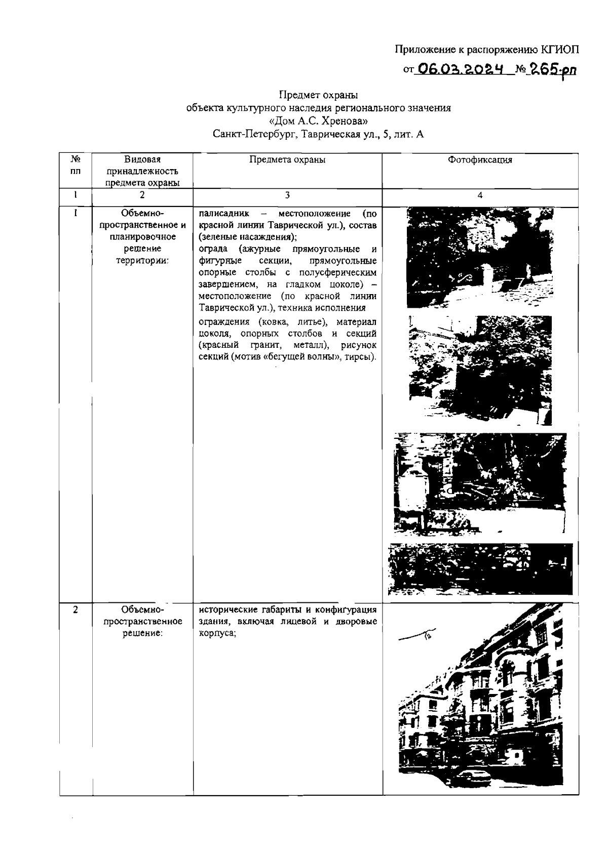
Распоряжение Комитета по государственному контролю, использованию и охране памятников истории и культуры Санкт-Петербурга от 06.03.2024 № 265-рп
"Об утверждении предмета охраны объекта культурного наследия регионального значения "Дом А.С. Хренова"
(Зарегистрирован 06.03.2024 № 37190)
Номер опубликования: 7801202403070001
Дата опубликования: 07.03.2024
Страница №2 из 16:
Увеличить