Официальное опубликование правовых актов
ОФИЦИАЛЬНОЕ ОПУБЛИКОВАНИЕ
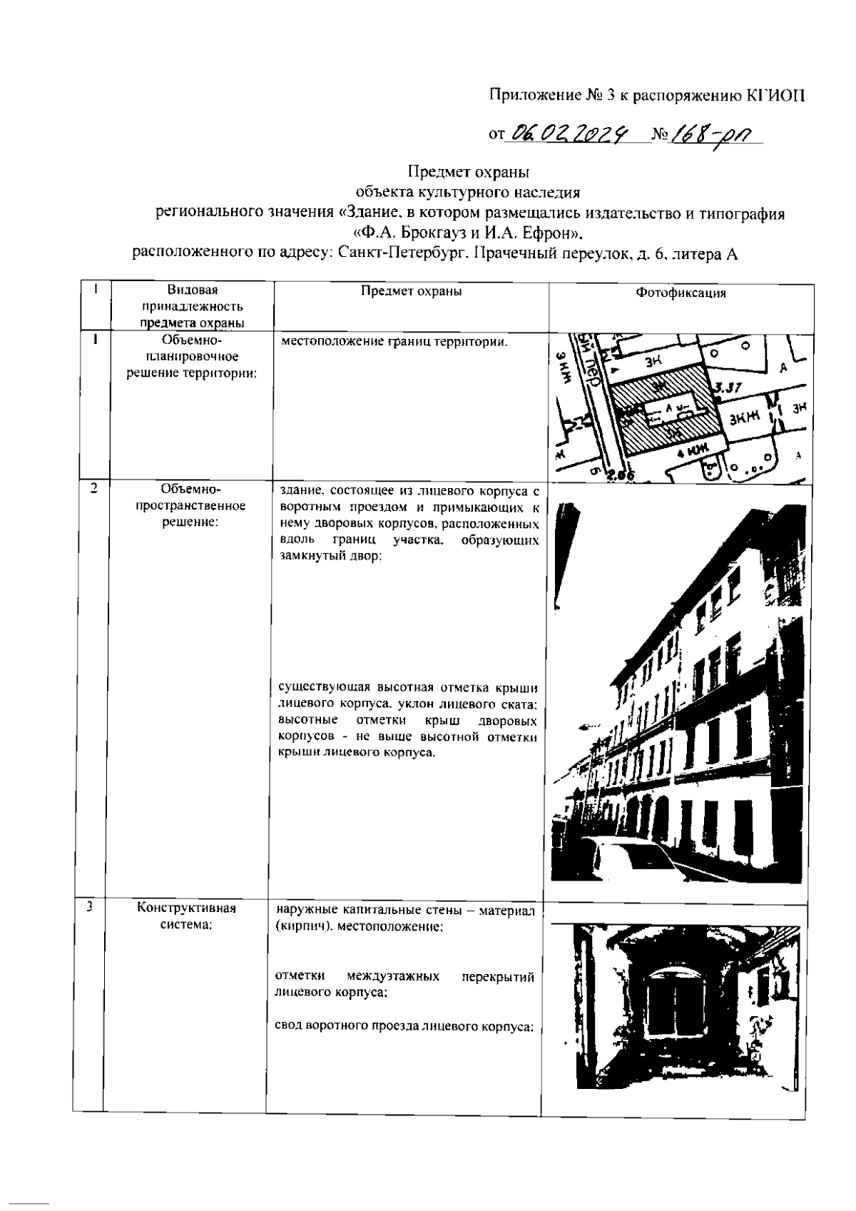
Распоряжение Комитета по государственному контролю, использованию и охране памятников истории и культуры Санкт-Петербурга от 06.02.2024 № 168-рп
"О включении выявленного объекта культурного наследия в единый государственный реестр объектов культурного наследия (памятников истории и культуры) народов Российской Федерации в качестве объекта культурного наследия регионального значения "Здание, в котором размещались издательство и типография "Ф.А. Брокгауз и И.А. Ефрон", об утверждении границ и режима использования территории объекта культурного наследия, об утверждении предмета охраны объекта культурного наследия"
(Зарегистрирован 07.02.2024 № 36942)
Номер опубликования: 7801202402130001
Дата опубликования: 13.02.2024
Страница №7 из 11:
Увеличить