Официальное опубликование правовых актов
ОФИЦИАЛЬНОЕ ОПУБЛИКОВАНИЕ
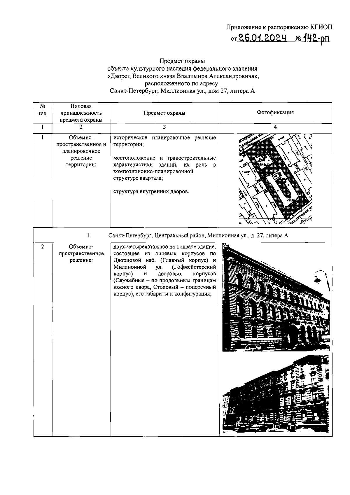
Распоряжение Комитета по государственному контролю, использованию и охране памятников истории и культуры Санкт-Петербурга от 26.01.2024 № 142-рп
"Об утверждении предмета охраны объекта культурного наследия федерального значения "Дворец Великого князя Владимира Александровича"
(Зарегистрирован 30.01.2024 № 36908)
Номер опубликования: 7801202402010003
Дата опубликования: 01.02.2024
Страница №2 из 142:
Увеличить