Официальное опубликование правовых актов
ОФИЦИАЛЬНОЕ ОПУБЛИКОВАНИЕ
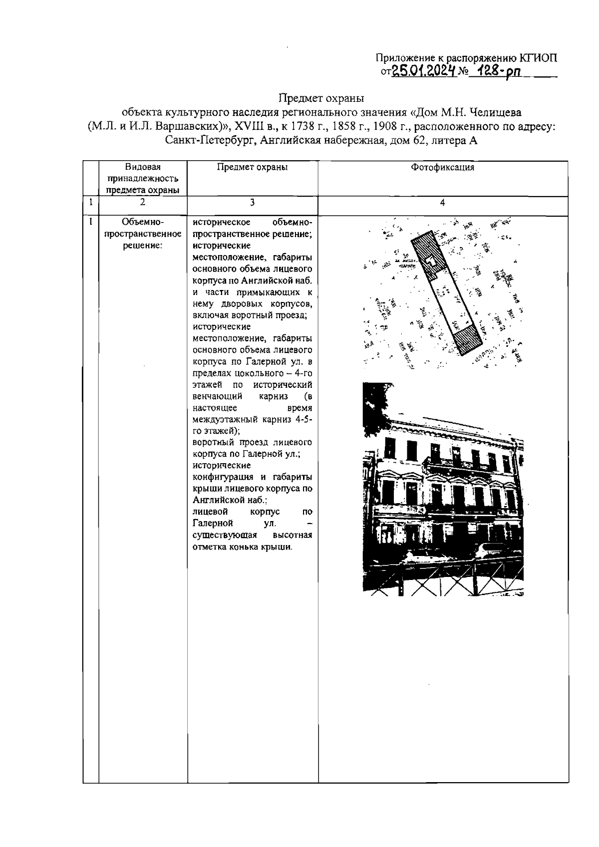
Распоряжение Комитета по государственному контролю, использованию и охране памятников истории и культуры Санкт-Петербурга от 25.01.2024 № 128-рп
"Об утверждении предмета охраны объекта культурного наследия регионального значения "Дом М.Н. Челищева (М.Л. и И.Л. Варшавских)"
(Зарегистрирован 26.01.2024 № 36881)
Номер опубликования: 7801202401290019
Дата опубликования: 29.01.2024
Страница №2 из 50:
Увеличить