Официальное опубликование правовых актов
ОФИЦИАЛЬНОЕ ОПУБЛИКОВАНИЕ
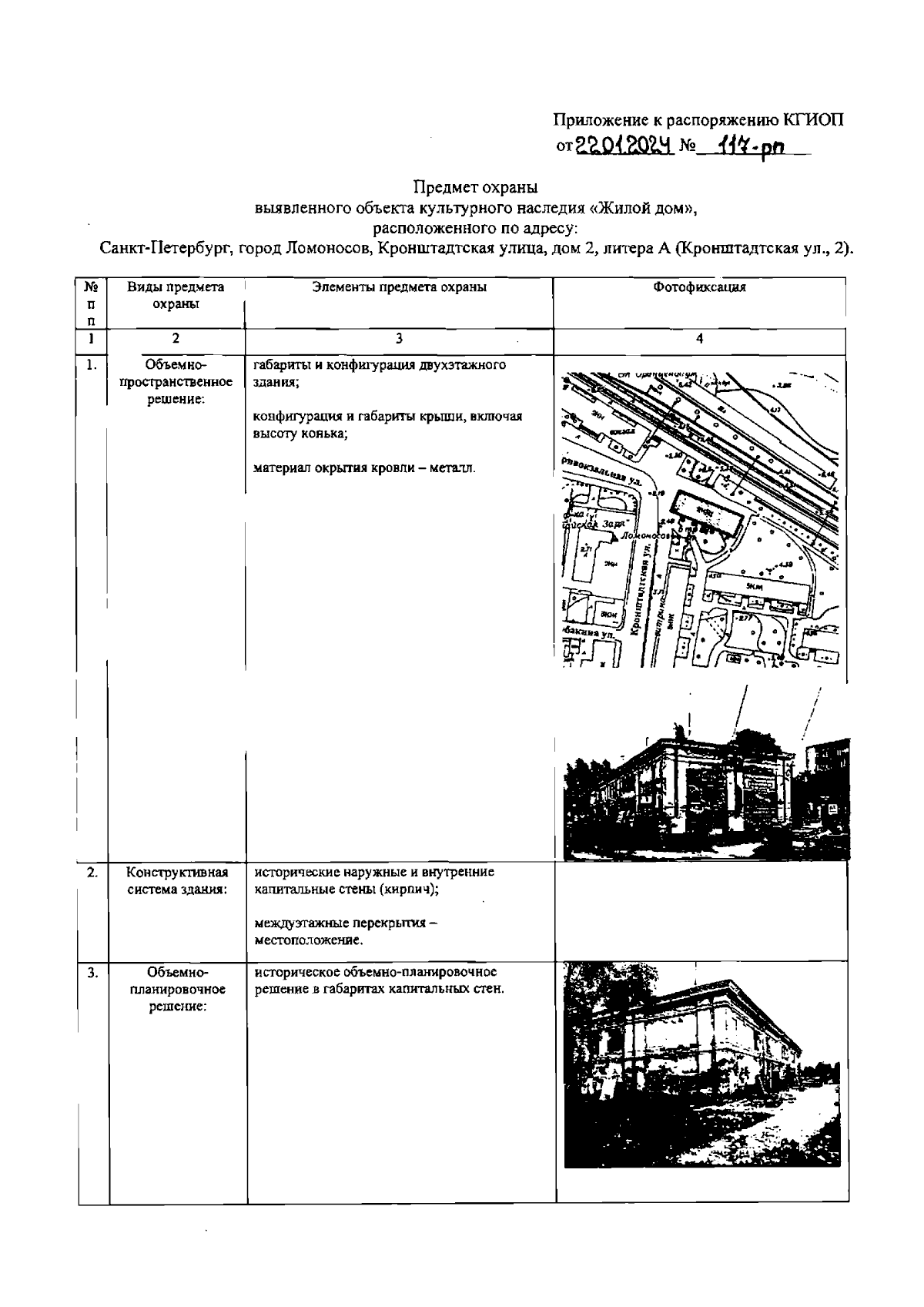
Распоряжение Комитета по государственному контролю, использованию и охране памятников истории и культуры Санкт-Петербурга от 22.01.2024 № 117-рп
"Об утверждении предмета охраны выявленного объекта культурного наследия "Жилой дом"
(Зарегистрирован 23.01.2024 № 36863)
Номер опубликования: 7801202401290006
Дата опубликования: 29.01.2024
Страница №2 из 3:
Увеличить