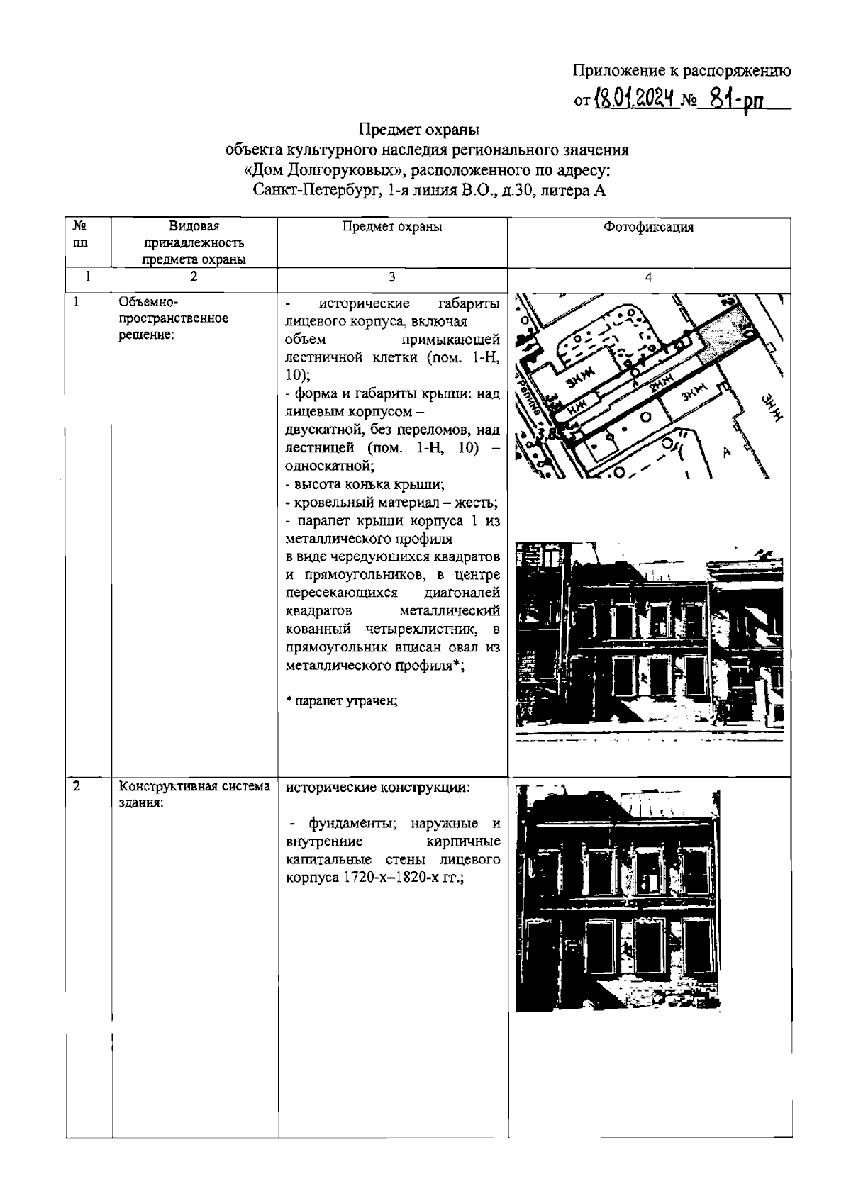
Распоряжение Комитета по государственному контролю, использованию и охране памятников истории и культуры Санкт-Петербурга от 18.01.2024 № 81-рп
"Об утверждении предмета охраны объекта культурного наследия регионального значения "Дом Долгоруковых"
(Зарегистрирован 18.01.2024 № 36826)
"Об утверждении предмета охраны объекта культурного наследия регионального значения "Дом Долгоруковых"
(Зарегистрирован 18.01.2024 № 36826)
Номер опубликования: 7801202401220017
Дата опубликования:
22.01.2024
