Официальное опубликование правовых актов
ОФИЦИАЛЬНОЕ ОПУБЛИКОВАНИЕ
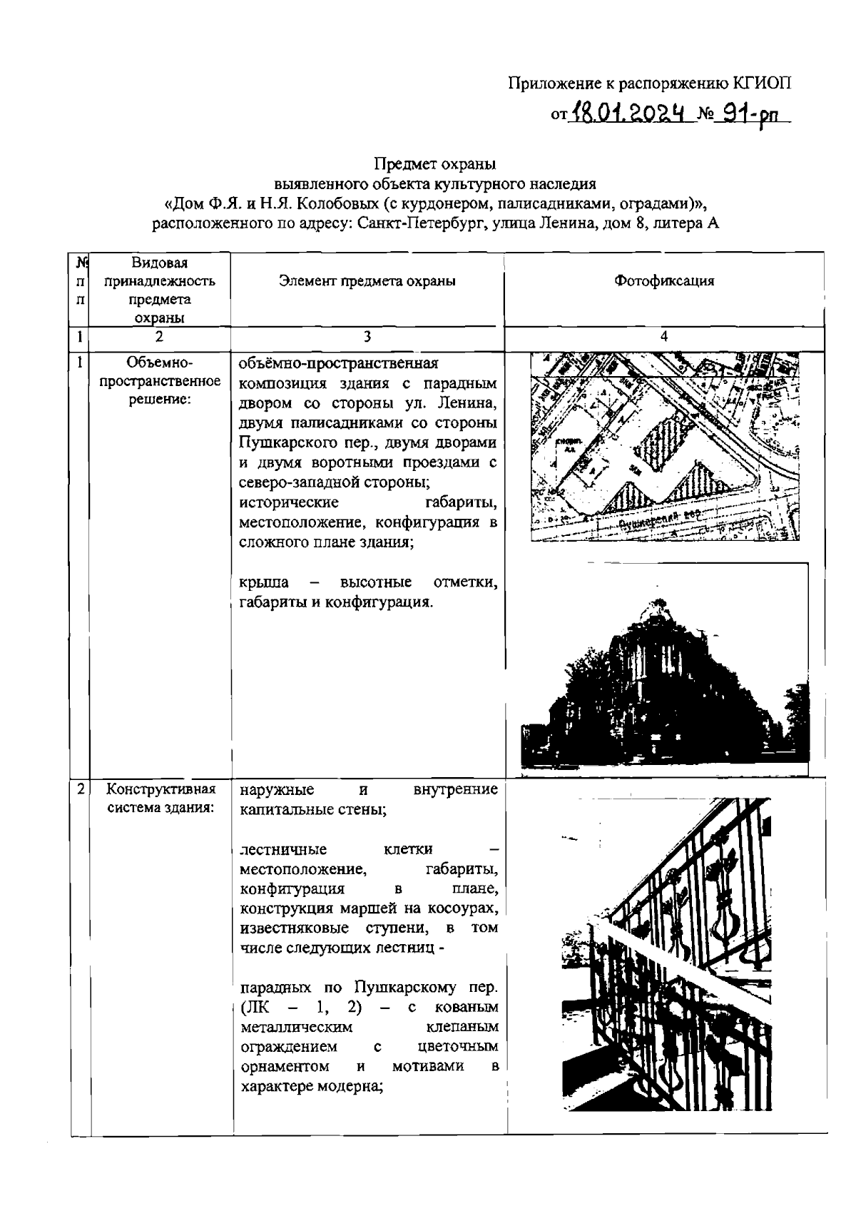
Распоряжение Комитета по государственному контролю, использованию и охране памятников истории и культуры Санкт-Петербурга от 18.01.2024 № 91-рп
"Об утверждении предмета охраны выявленного объекта культурного наследия "Дом Ф.Я. и Н.Я. Колобовых (с курдонером, палисадниками, оградами)"
(Зарегистрирован 18.01.2024 № 36815)
Номер опубликования: 7801202401220004
Дата опубликования: 22.01.2024
Страница №2 из 14:
Увеличить