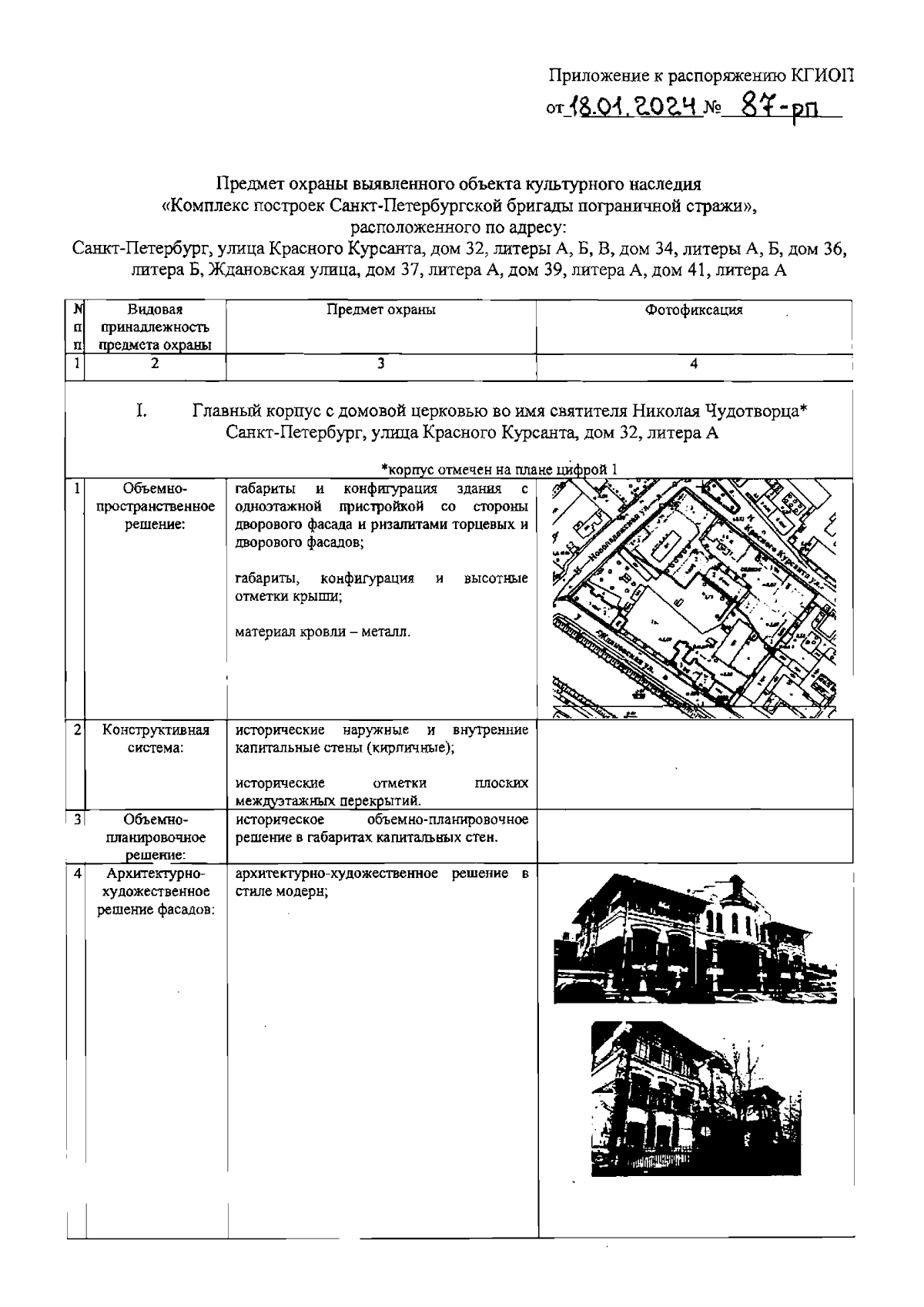
Распоряжение Комитета по государственному контролю, использованию и охране памятников истории и культуры Санкт-Петербурга от 18.01.2024 № 87-рп
"Об утверждении предмета охраны выявленного объекта культурного наследия "Комплекс построек Санкт-Петербургской бригады пограничной стражи"
(Зарегистрирован 18.01.2024 № 36819)
"Об утверждении предмета охраны выявленного объекта культурного наследия "Комплекс построек Санкт-Петербургской бригады пограничной стражи"
(Зарегистрирован 18.01.2024 № 36819)
Номер опубликования: 7801202401220002
Дата опубликования:
22.01.2024
