Официальное опубликование правовых актов
ОФИЦИАЛЬНОЕ ОПУБЛИКОВАНИЕ
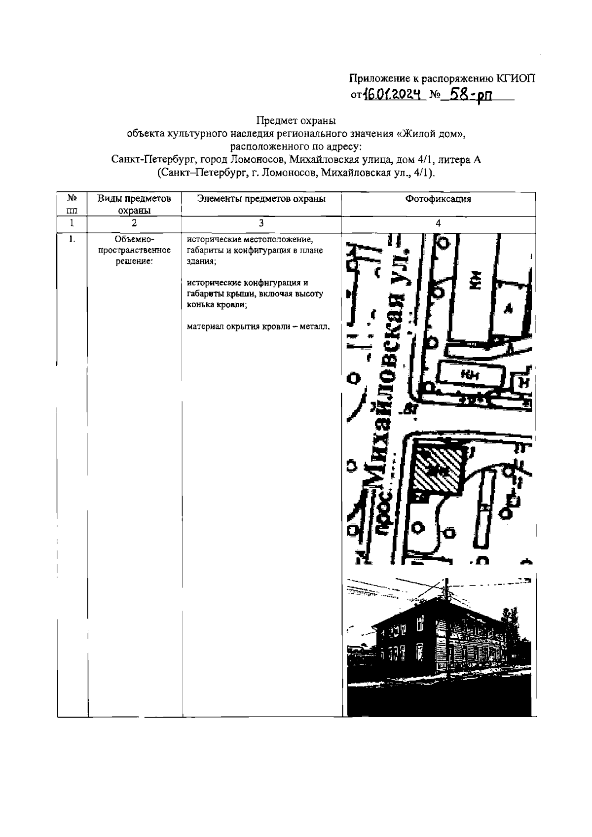
Распоряжение Комитета по государственному контролю, использованию и охране памятников истории и культуры Санкт-Петербурга от 16.01.2024 № 58-рп
"Об утверждении предмета охраны объекта культурного наследия регионального значения "Жилой дом"
(Зарегистрирован 17.01.2024 № 36793)
Номер опубликования: 7801202401200020
Дата опубликования: 20.01.2024
Страница №2 из 3:
Увеличить