Официальное опубликование правовых актов
ОФИЦИАЛЬНОЕ ОПУБЛИКОВАНИЕ
Распоряжение Комитета по государственному контролю, использованию и охране памятников истории и культуры Санкт-Петербурга от 17.01.2024 № 70-рп
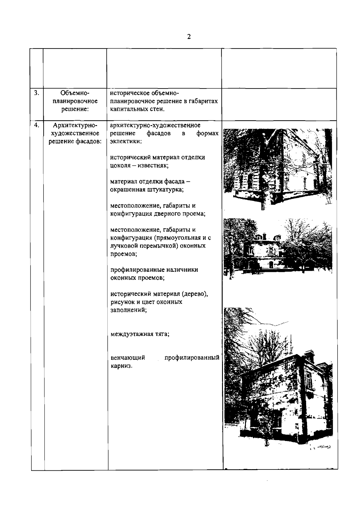
"Об утверждении предмета охраны объекта культурного наследия регионального значения "Дом Басукова"
(Зарегистрирован 17.01.2024 № 36804)
Номер опубликования: 7801202401200009
Дата опубликования: 20.01.2024
Страница №3 из 4:
Увеличить