Официальное опубликование правовых актов
ОФИЦИАЛЬНОЕ ОПУБЛИКОВАНИЕ
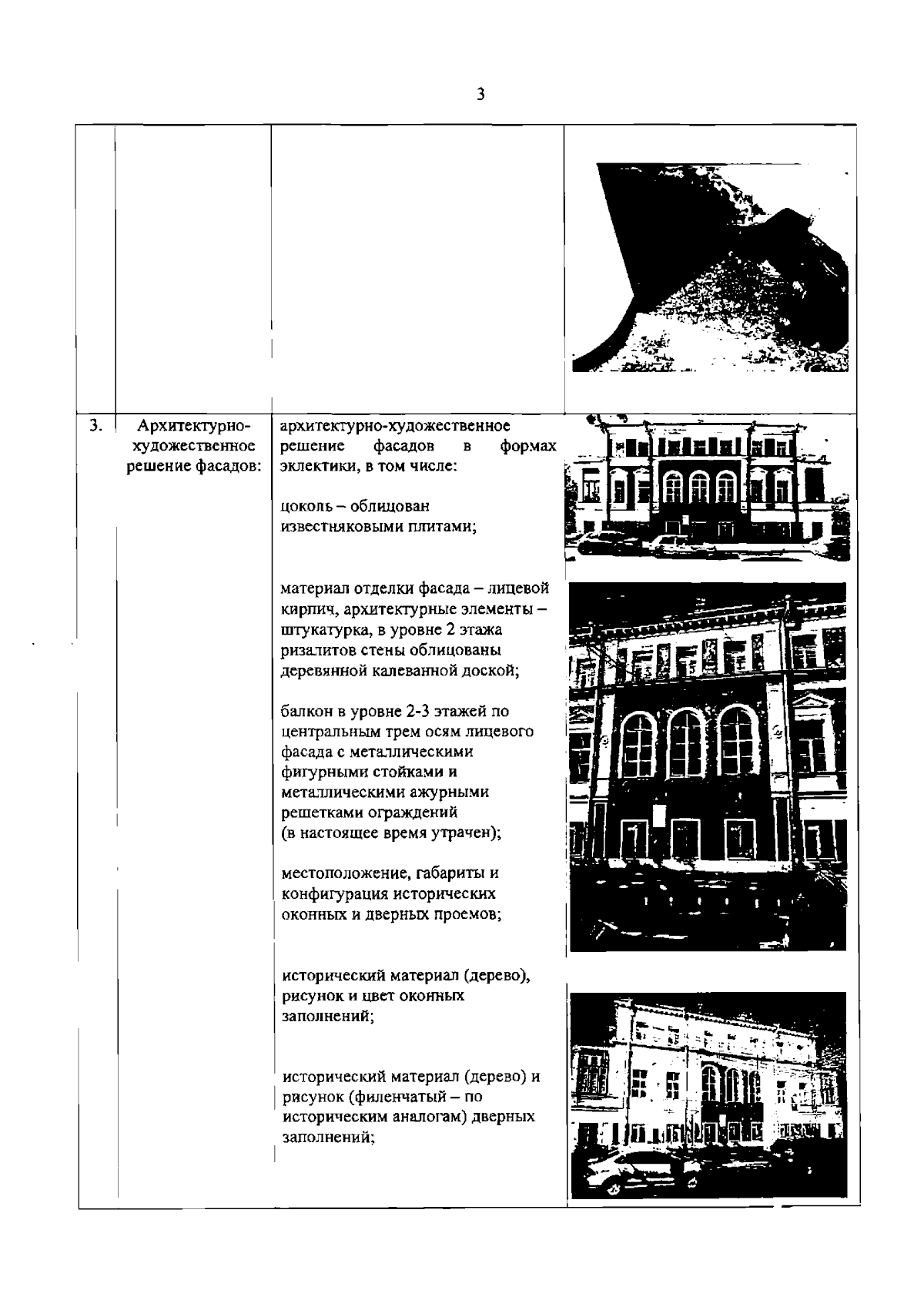
Распоряжение Комитета по государственному контролю, использованию и охране памятников истории и культуры Санкт-Петербурга от 17.01.2024 № 71-рп
"Об утверждении предмета охраны объекта культурного наследия регионального значения "Дом начальника Петергофского дворцового правления"
(Зарегистрирован 18.01.2024 № 36805)
Номер опубликования: 7801202401200008
Дата опубликования: 20.01.2024
Страница №4 из 6:
Увеличить