Официальное опубликование правовых актов
ОФИЦИАЛЬНОЕ ОПУБЛИКОВАНИЕ
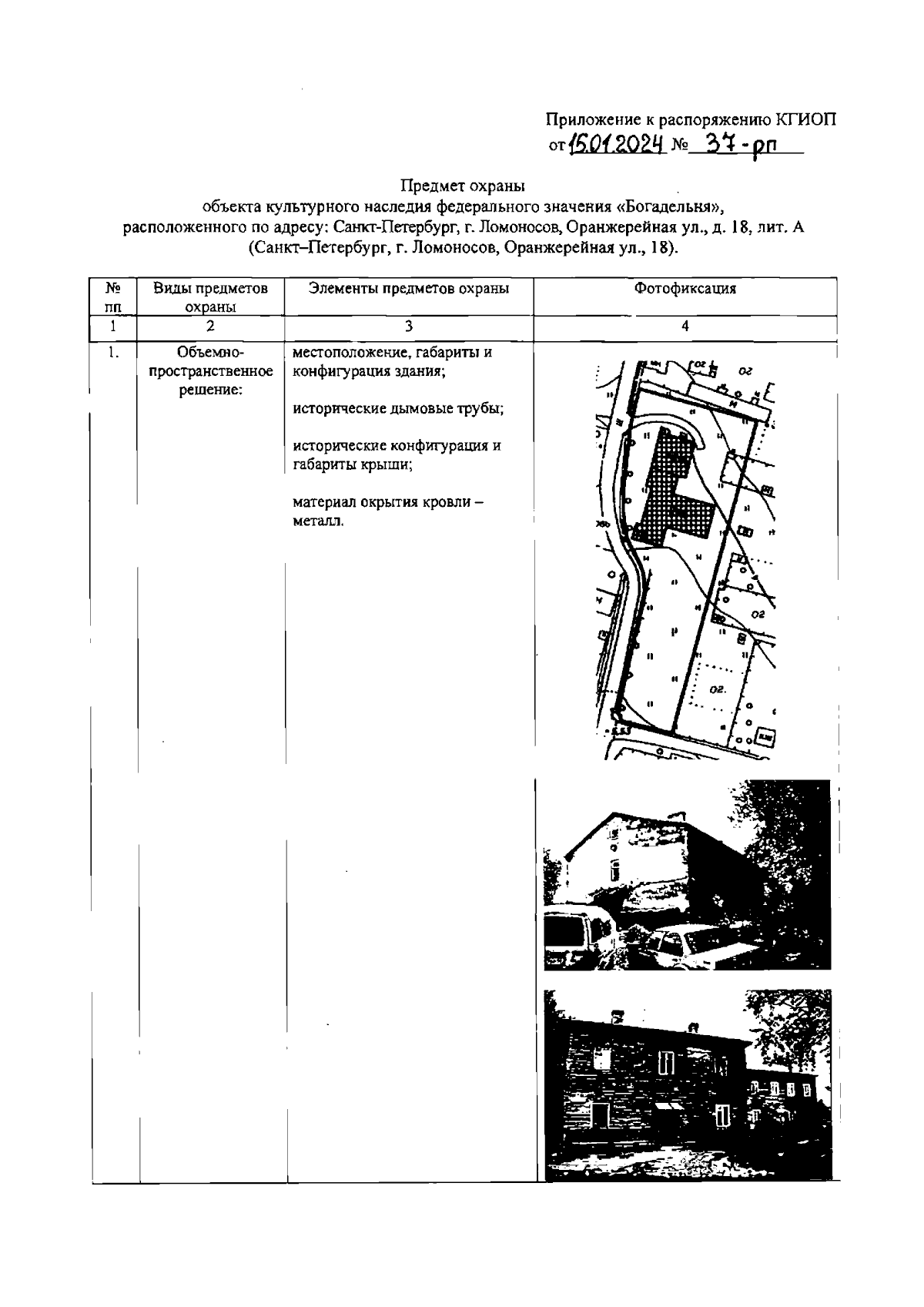
Распоряжение Комитета по государственному контролю, использованию и охране памятников истории и культуры Санкт-Петербурга от 15.01.2024 № 37-рп
"Об утверждении предмета охраны объекта культурного наследия федерального значения "Богадельня"
(Зарегистрирован 16.01.2024 № 36765)
Номер опубликования: 7801202401180007
Дата опубликования: 18.01.2024
Страница №2 из 4:
Увеличить