Официальное опубликование правовых актов
ОФИЦИАЛЬНОЕ ОПУБЛИКОВАНИЕ
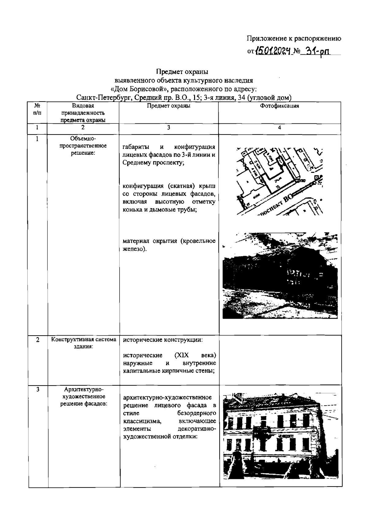
Распоряжение Комитета по государственному контролю, использованию и охране памятников истории и культуры Санкт-Петербурга от 15.01.2024 № 31-рп
"Об утверждении предмета охраны выявленного объекта культурного наследия "Дом Борисовой"
(Зарегистрирован 15.01.2024 № 36760)
Номер опубликования: 7801202401160017
Дата опубликования: 16.01.2024
Страница №2 из 4:
Увеличить