Официальное опубликование правовых актов
ОФИЦИАЛЬНОЕ ОПУБЛИКОВАНИЕ
Распоряжение Комитета по государственному контролю, использованию и охране памятников истории и культуры Санкт-Петербурга от 15.01.2024 № 30-рп
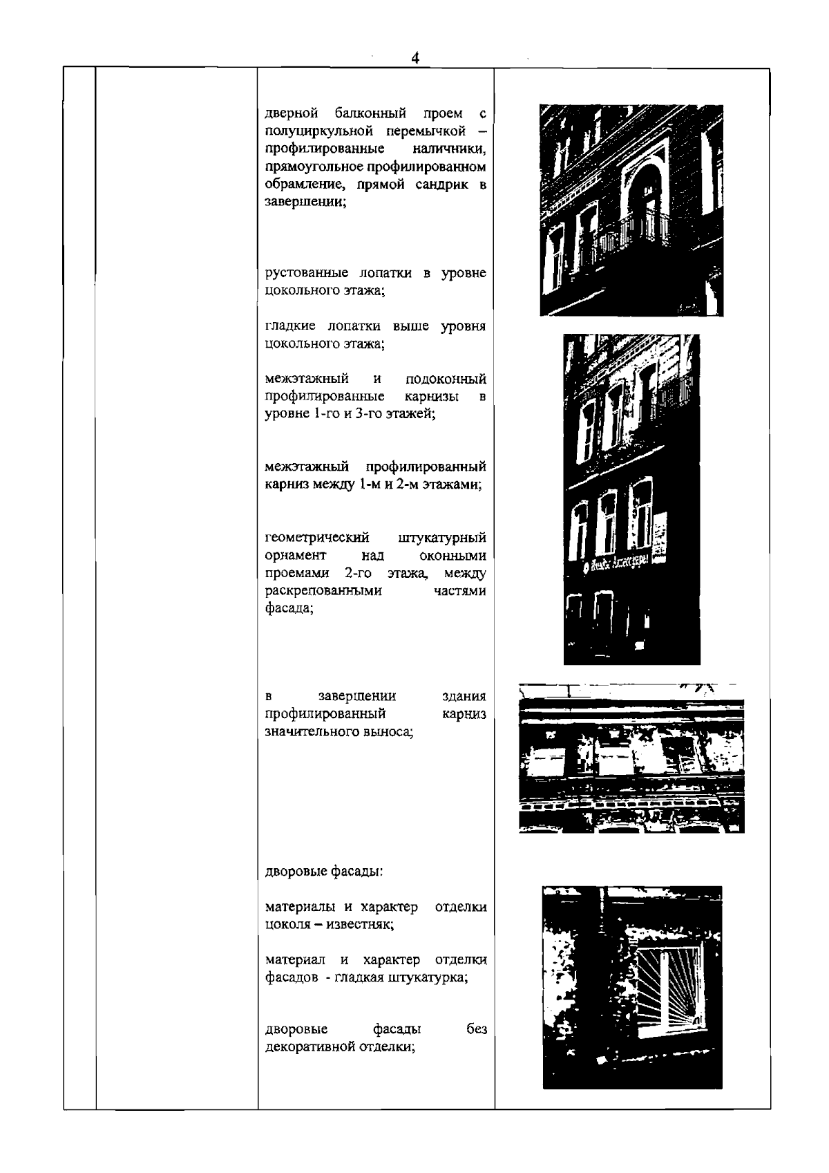
"Об утверждении предмета охраны выявленного объекта культурного наследия "Дом Ф.И. Вундерлиха"
(Зарегистрирован 15.01.2024 № 36758)
Номер опубликования: 7801202401160015
Дата опубликования: 16.01.2024
Страница №5 из 6:
Увеличить