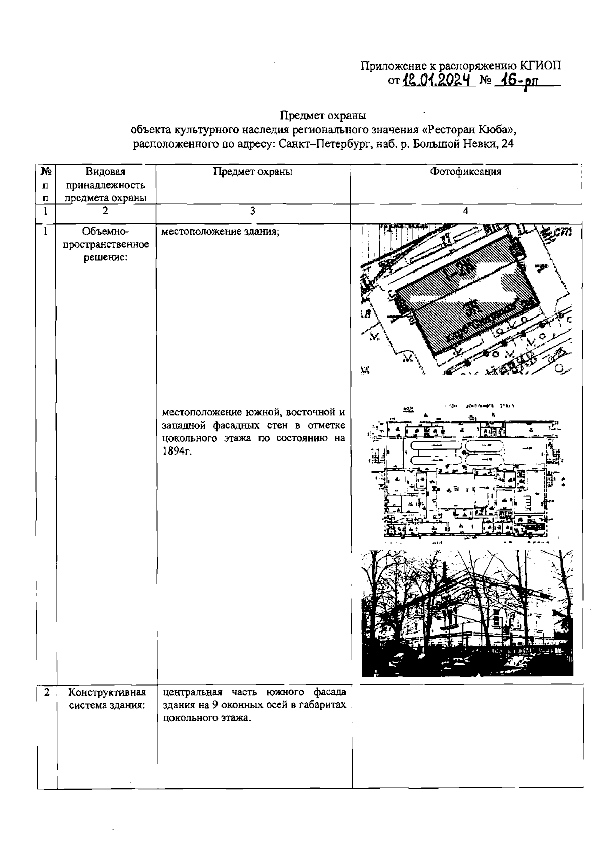
Распоряжение Комитета по государственному контролю, использованию и охране памятников истории и культуры Санкт-Петербурга от 12.01.2024 № 16-рп
"Об утверждении предмета охраны объекта культурного наследия регионального значения "Ресторан Кюба"
(Зарегистрирован 15.01.2024 № 36744)
"Об утверждении предмета охраны объекта культурного наследия регионального значения "Ресторан Кюба"
(Зарегистрирован 15.01.2024 № 36744)
Номер опубликования: 7801202401160009
Дата опубликования:
16.01.2024
