Официальное опубликование правовых актов
ОФИЦИАЛЬНОЕ ОПУБЛИКОВАНИЕ
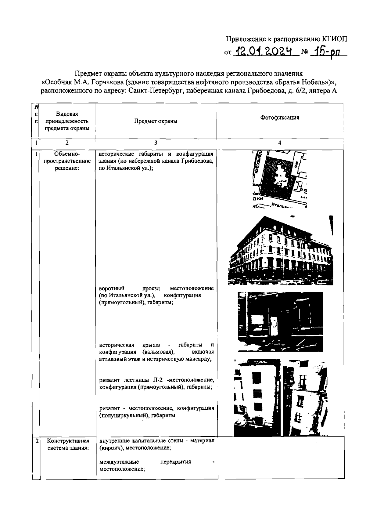
Распоряжение Комитета по государственному контролю, использованию и охране памятников истории и культуры Санкт-Петербурга от 12.01.2024 № 15-рп
"Об утверждении предмета охраны объекта культурного наследия регионального значения "Особняк М.А. Горчакова (здание товарищества нефтяного производства "Братья Нобель")"
(Зарегистрирован 15.01.2024 № 36743)
Номер опубликования: 7801202401160008
Дата опубликования: 16.01.2024
Страница №2 из 78:
Увеличить