Официальное опубликование правовых актов
ОФИЦИАЛЬНОЕ ОПУБЛИКОВАНИЕ
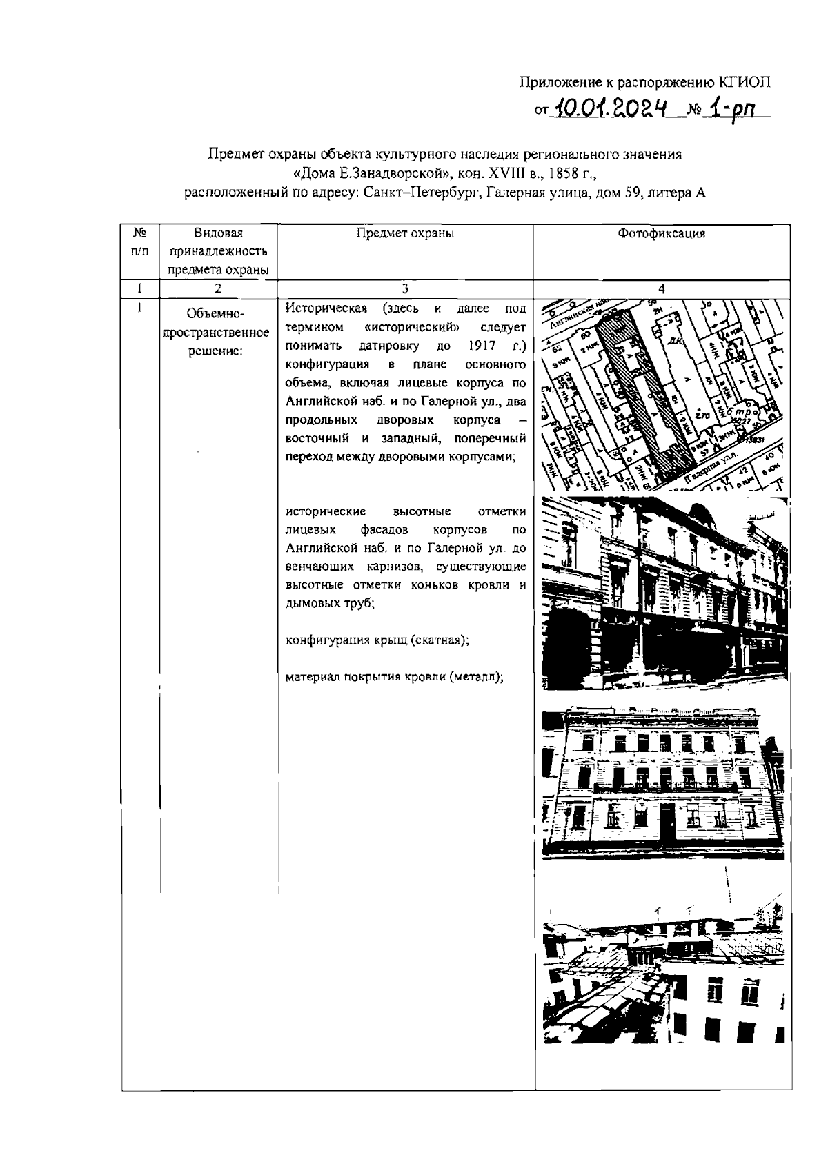
Распоряжение Комитета по государственному контролю, использованию и охране памятников истории и культуры Санкт-Петербурга от 10.01.2024 № 1-рп
"Об утверждении предмета охраны объекта культурного наследия регионального значения "Дома Е.Занадворской"
(Зарегистрирован 10.01.2024 № 36702)
Номер опубликования: 7801202401110010
Дата опубликования: 11.01.2024
Страница №2 из 10:
Увеличить