Официальное опубликование правовых актов
ОФИЦИАЛЬНОЕ ОПУБЛИКОВАНИЕ
Распоряжение Комитета по государственному контролю, использованию и охране памятников истории и культуры Санкт-Петербурга от 21.12.2023 № 1057-рп
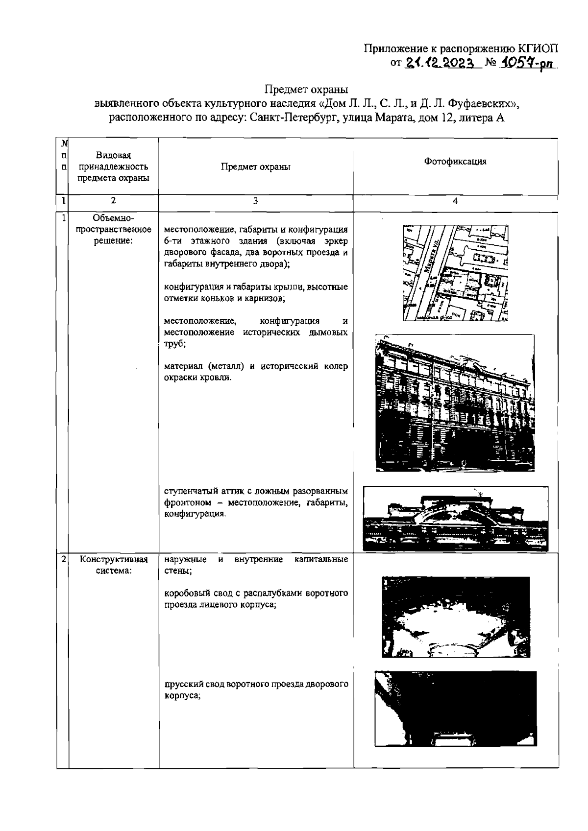
"Об утверждении предмета охраны выявленного объекта культурного наследия "Дом Л. Л., С. Л., и Д. Л. Фуфаевских"
(Зарегистрирован 22.12.2023 № 36584)
Номер опубликования: 7801202312290046
Дата опубликования: 29.12.2023
Страница №2 из 11:
Увеличить