Официальное опубликование правовых актов
ОФИЦИАЛЬНОЕ ОПУБЛИКОВАНИЕ
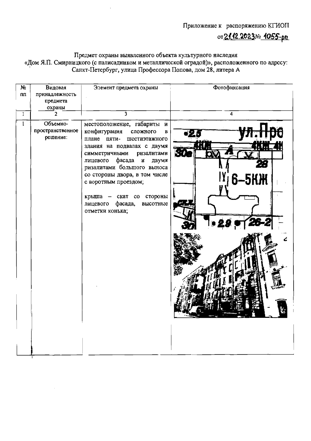
Распоряжение Комитета по государственному контролю, использованию и охране памятников истории и культуры Санкт-Петербурга от 21.12.2023 № 1055-рп
"Об утверждении предмета охраны выявленного объекта культурного наследия "Дом Я.П. Смирницкого (с палисадником и металлической оградой)"
(Зарегистрирован 22.12.2023 № 36582)
Номер опубликования: 7801202312290043
Дата опубликования: 29.12.2023
Страница №2 из 12:
Увеличить