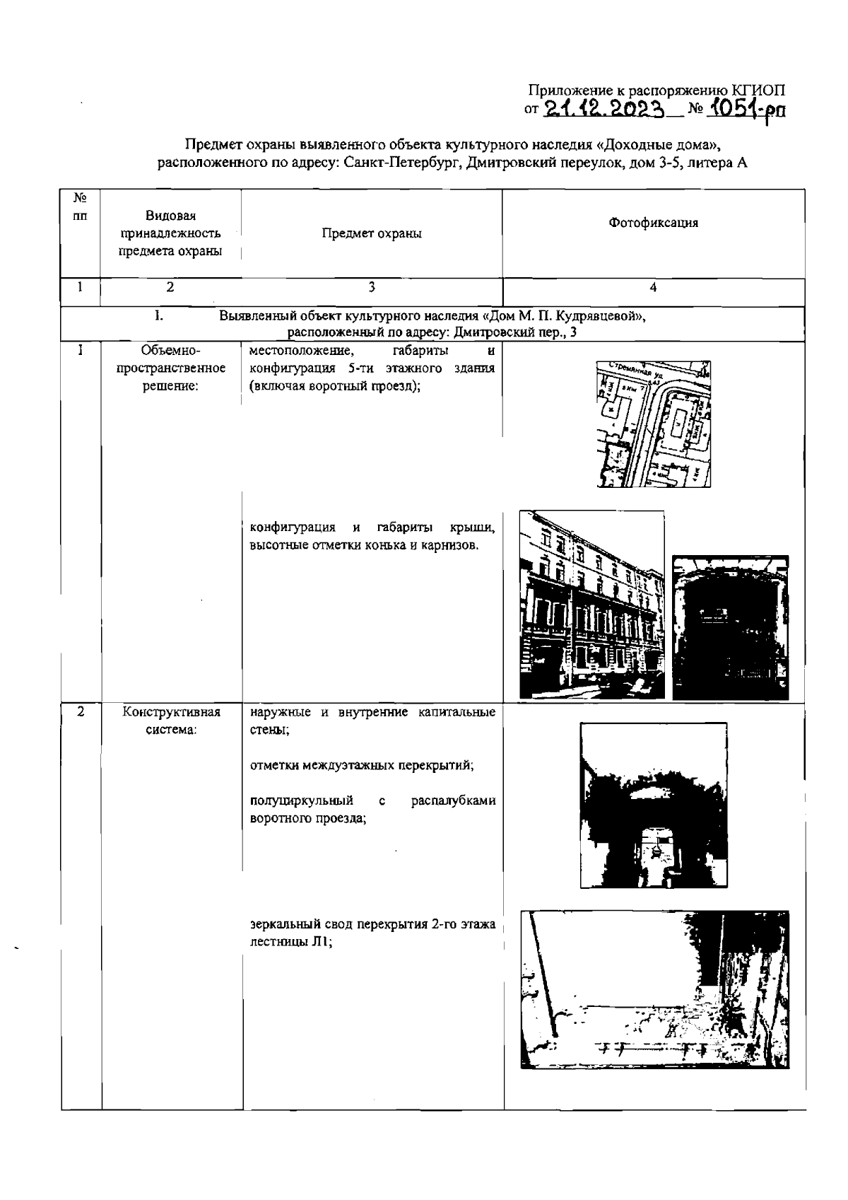
Распоряжение Комитета по государственному контролю, использованию и охране памятников истории и культуры Санкт-Петербурга от 21.12.2023 № 1051-рп
"Об утверждении предмета охраны выявленного объекта культурного наследия "Доходные дома"
(Зарегистрирован 22.12.2023 № 36578)
"Об утверждении предмета охраны выявленного объекта культурного наследия "Доходные дома"
(Зарегистрирован 22.12.2023 № 36578)
Номер опубликования: 7801202312290040
Дата опубликования:
29.12.2023
