Официальное опубликование правовых актов
ОФИЦИАЛЬНОЕ ОПУБЛИКОВАНИЕ
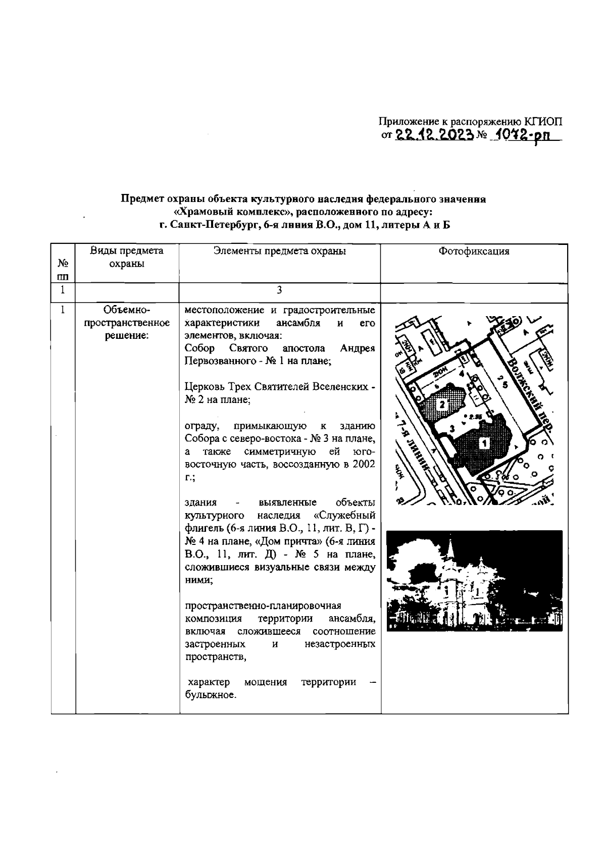
Распоряжение Комитета по государственному контролю, использованию и охране памятников истории и культуры Санкт-Петербурга от 22.12.2023 № 1072-рп
"Об утверждении предмета охраны объекта культурного наследия федерального значения "Храмовый комплекс"
(Зарегистрирован 25.12.2023 № 36622)
Номер опубликования: 7801202312290030
Дата опубликования: 29.12.2023
Страница №2 из 30:
Увеличить