Официальное опубликование правовых актов
ОФИЦИАЛЬНОЕ ОПУБЛИКОВАНИЕ
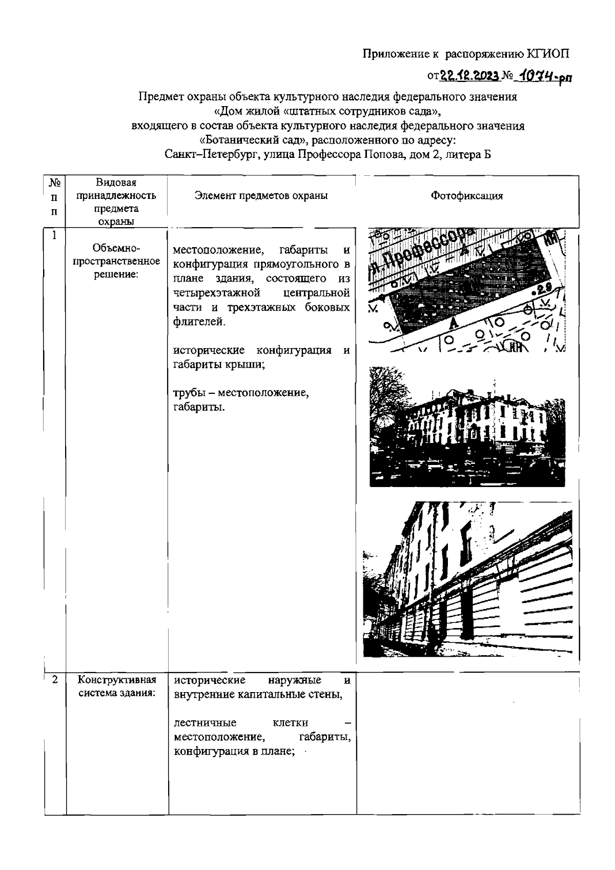
Распоряжение Комитета по государственному контролю, использованию и охране памятников истории и культуры Санкт-Петербурга от 22.12.2023 № 1074-рп
"Об утверждении предмета охраны объекта культурного наследия федерального значения "Дом жилой "штатных сотрудников сада", входящего в состав объекта культурного наследия федерального значения "Ботанический сад"
(Зарегистрирован 25.12.2023 № 36623)
Номер опубликования: 7801202312290028
Дата опубликования: 29.12.2023
Страница №2 из 8:
Увеличить