Официальное опубликование правовых актов
ОФИЦИАЛЬНОЕ ОПУБЛИКОВАНИЕ
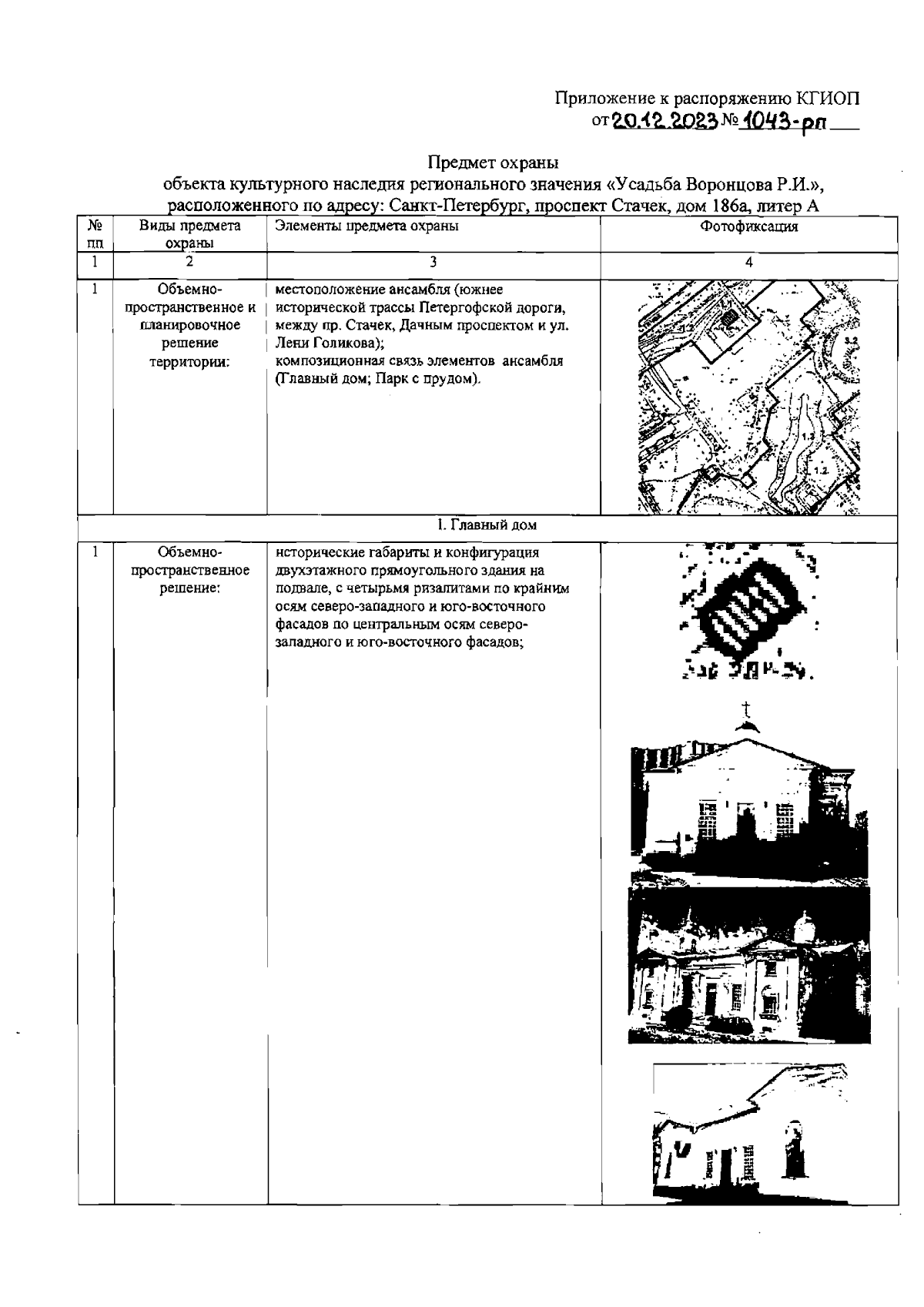
Распоряжение Комитета по государственному контролю, использованию и охране памятников истории и культуры Санкт-Петербурга от 20.12.2023 № 1043-рп
"Об утверждении предмета охраны объекта культурного наследия регионального значения "Усадьба Воронцова Р.И."
(Зарегистрирован 21.12.2023 № 36571)
Номер опубликования: 7801202312250004
Дата опубликования: 25.12.2023
Страница №2 из 8:
Увеличить