Официальное опубликование правовых актов
ОФИЦИАЛЬНОЕ ОПУБЛИКОВАНИЕ
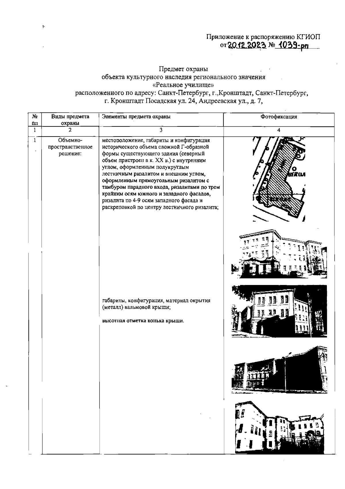
Распоряжение Комитета по государственному контролю, использованию и охране памятников истории и культуры Санкт-Петербурга от 20.12.2023 № 1039-рп
"Об утверждении предмета охраны объекта культурного наследия регионального значения "Реальное училище"
(Зарегистрирован 21.12.2023 № 36566)
Номер опубликования: 7801202312220035
Дата опубликования: 22.12.2023
Страница №2 из 8:
Увеличить