Официальное опубликование правовых актов
ОФИЦИАЛЬНОЕ ОПУБЛИКОВАНИЕ
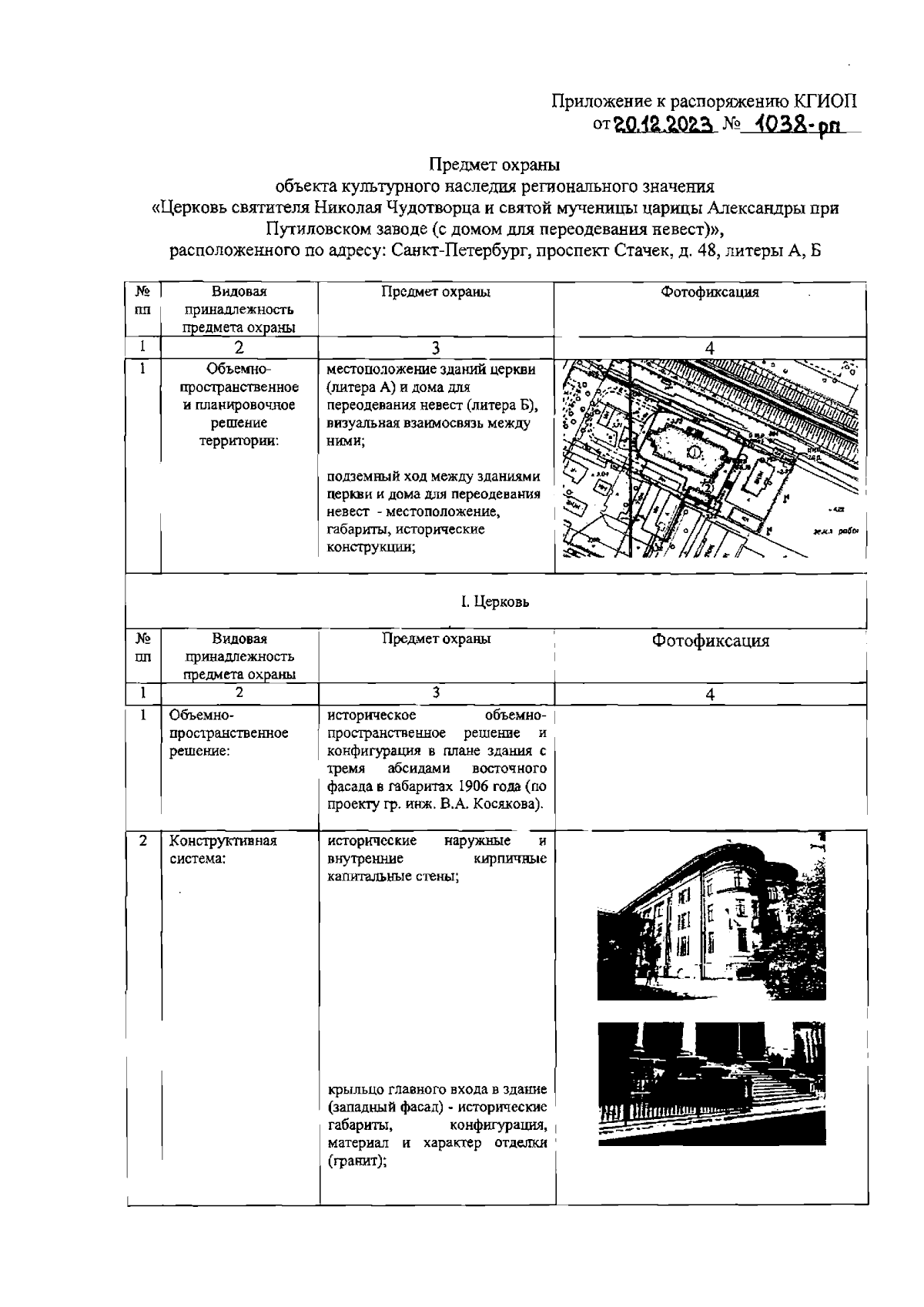
Распоряжение Комитета по государственному контролю, использованию и охране памятников истории и культуры Санкт-Петербурга от 20.12.2023 № 1038-рп
"Об утверждении предмета охраны объекта культурного наследия регионального значения "Церковь святителя Николая Чудотворца и святой мученицы царицы Александры при Путиловском заводе (с домом для переодевания невест)"
(Зарегистрирован 21.12.2023 № 36565)
Номер опубликования: 7801202312220034
Дата опубликования: 22.12.2023
Страница №2 из 7:
Увеличить