Официальное опубликование правовых актов
ОФИЦИАЛЬНОЕ ОПУБЛИКОВАНИЕ
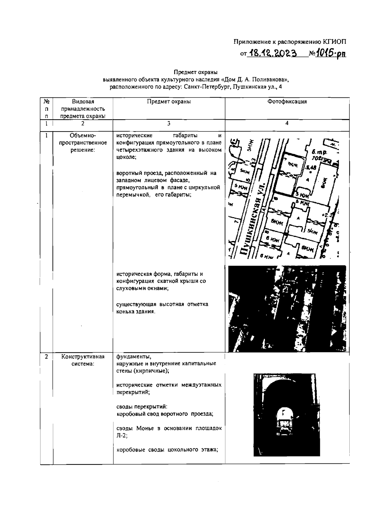
Распоряжение Комитета по государственному контролю, использованию и охране памятников истории и культуры Санкт-Петербурга от 18.12.2023 № 1015-рп
"Об утверждении предмета охраны выявленного объекта культурного наследия "Дом Д. А. Поливанова"
(Зарегистрирован 19.12.2023 № 36523)
Номер опубликования: 7801202312210010
Дата опубликования: 21.12.2023
Страница №2 из 7:
Увеличить