Официальное опубликование правовых актов
ОФИЦИАЛЬНОЕ ОПУБЛИКОВАНИЕ
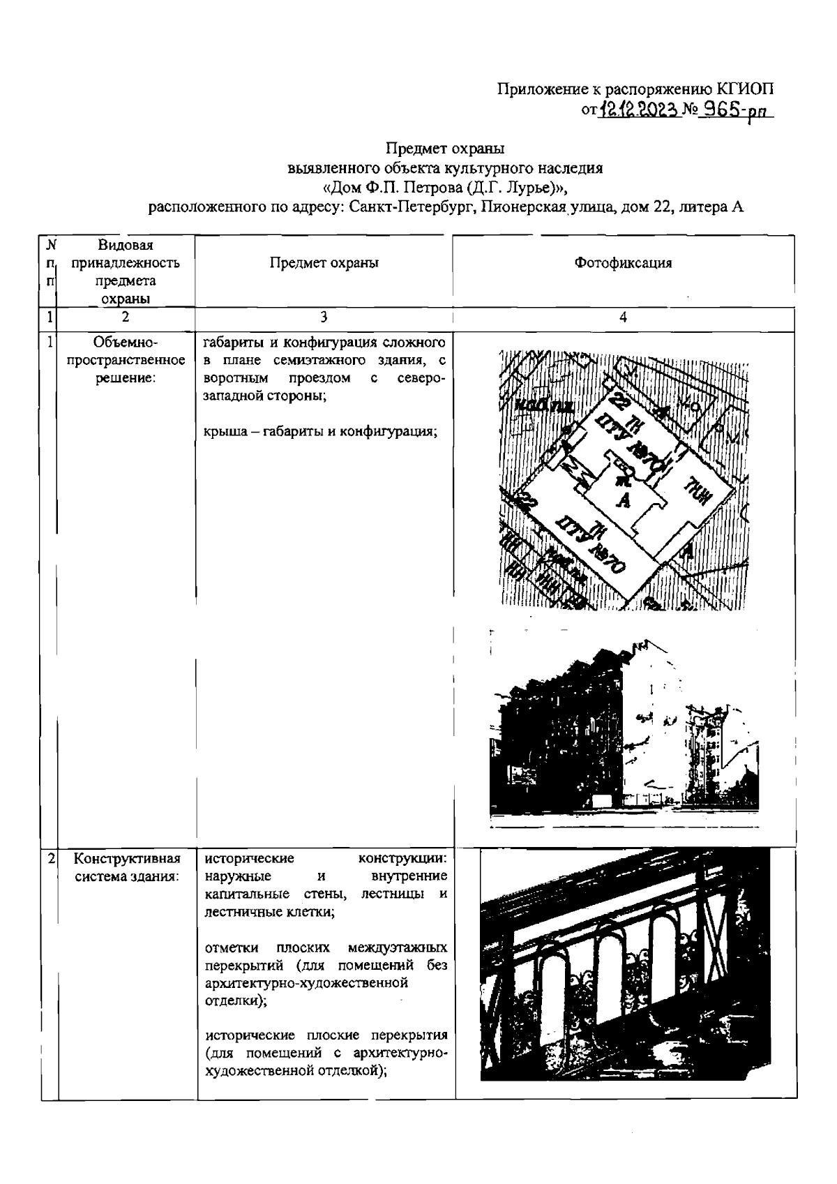
Распоряжение Комитета по государственному контролю, использованию и охране памятников истории и культуры Санкт-Петербурга от 12.12.2023 № 965-рп
"Об утверждении предмета охраны выявленного объекта культурного наследия "Дом Ф.П. Петрова (Д.Г. Лурье)"
(Зарегистрирован 13.12.2023 № 36450)
Номер опубликования: 7801202312150009
Дата опубликования: 15.12.2023
Страница №2 из 12:
Увеличить