Официальное опубликование правовых актов
ОФИЦИАЛЬНОЕ ОПУБЛИКОВАНИЕ
Распоряжение Комитета по государственному контролю, использованию и охране памятников истории и культуры Санкт-Петербурга от 12.12.2023 № 960-рп
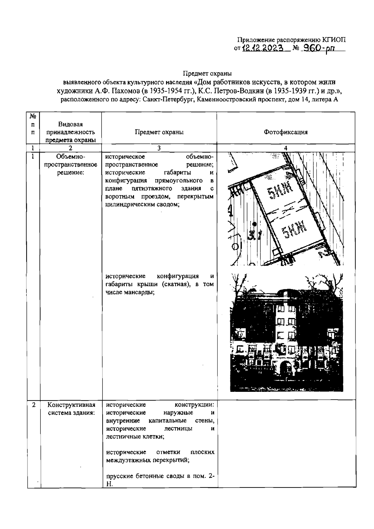
"Об утверждении предмета охраны выявленного объекта культурного наследия "Дом работников искусств, в котором жили художники А.Ф. Пахомов (в 1935-1954 гг.), К.С. Петров-Водкин (в 1935-1939 гг.) и др."
(Зарегистрирован 13.12.2023 № 36444)
Номер опубликования: 7801202312130037
Дата опубликования: 13.12.2023
Страница №2 из 5:
Увеличить