Официальное опубликование правовых актов
ОФИЦИАЛЬНОЕ ОПУБЛИКОВАНИЕ
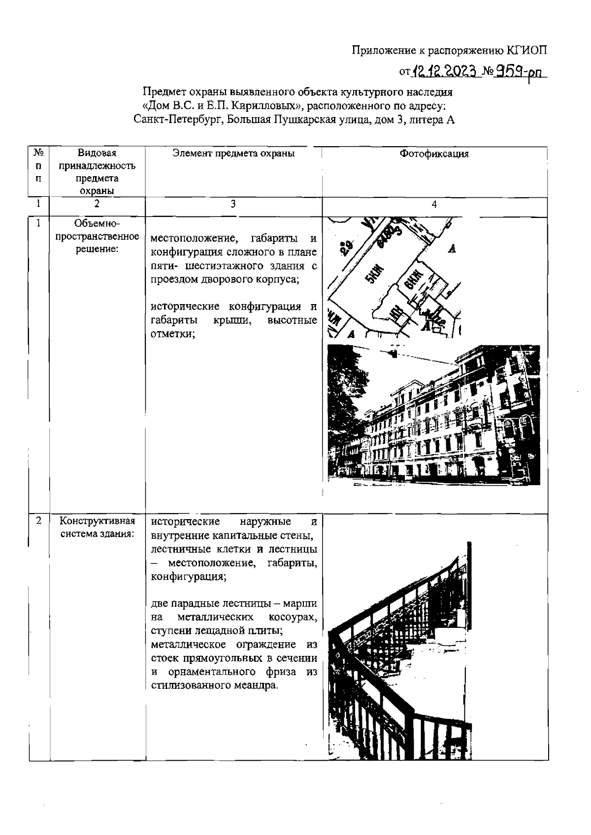
Распоряжение Комитета по государственному контролю, использованию и охране памятников истории и культуры Санкт-Петербурга от 12.12.2023
"Об утверждении предмета охраны выявленного объекта культурного наследия "Дом В.С. и Е.П. Кирилловых"
(Зарегистрирован 12.12.2023 № 36442)
Номер опубликования: 7801202312130034
Дата опубликования: 13.12.2023
Страница №2 из 17:
Увеличить