Официальное опубликование правовых актов
ОФИЦИАЛЬНОЕ ОПУБЛИКОВАНИЕ
Распоряжение Комитета по государственному контролю, использованию и охране памятников истории и культуры Санкт-Петербурга от 07.12.2023 № 933-рп
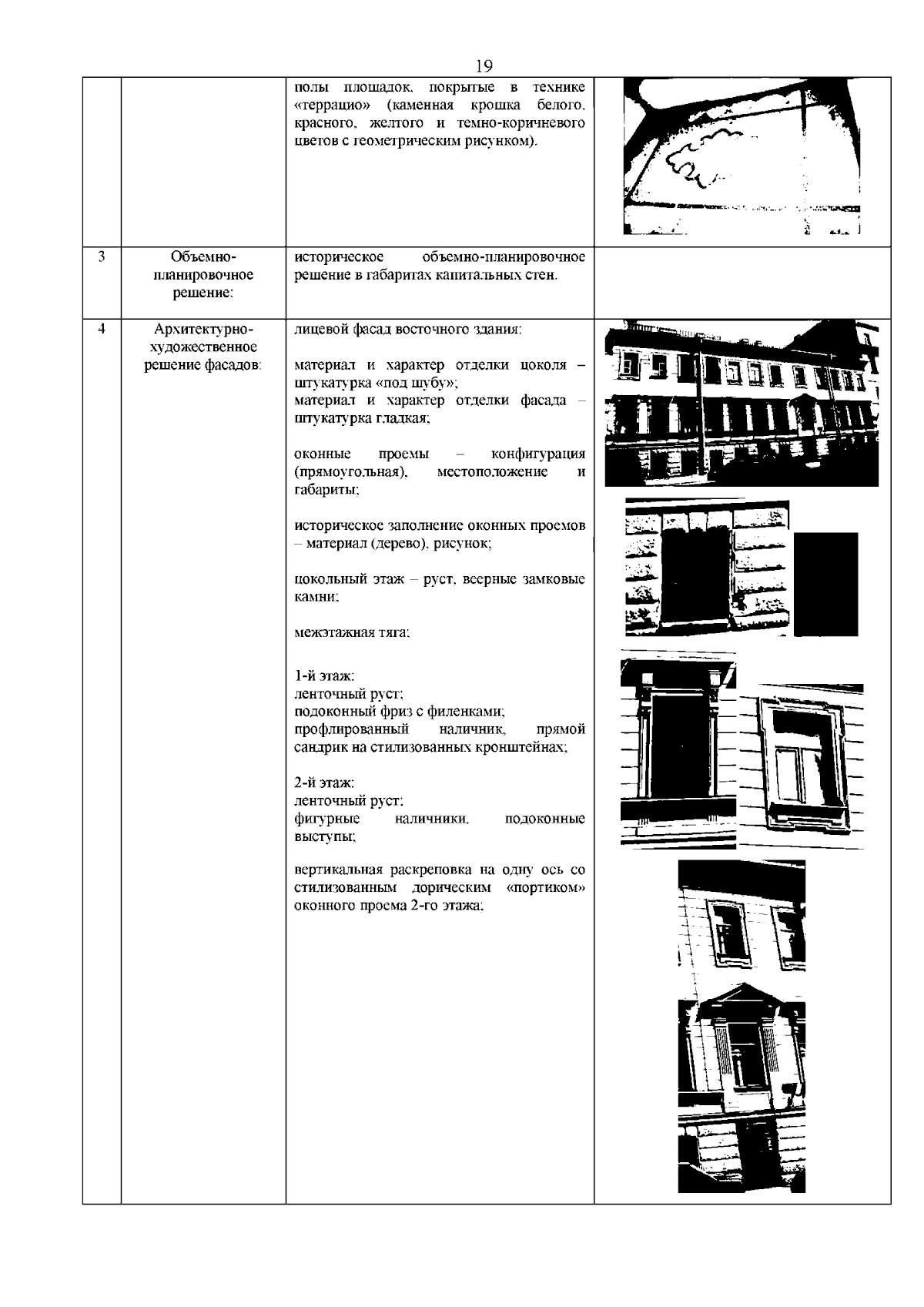
"Об утверждении предмета охраны объекта культурного наследия регионального значения "Доходный дом Полубояринова"
(Зарегистрирован 08.12.2023 № 36407)
Номер опубликования: 7801202312120007
Дата опубликования: 12.12.2023
Страница №20 из 22:
Увеличить