Официальное опубликование правовых актов
ОФИЦИАЛЬНОЕ ОПУБЛИКОВАНИЕ
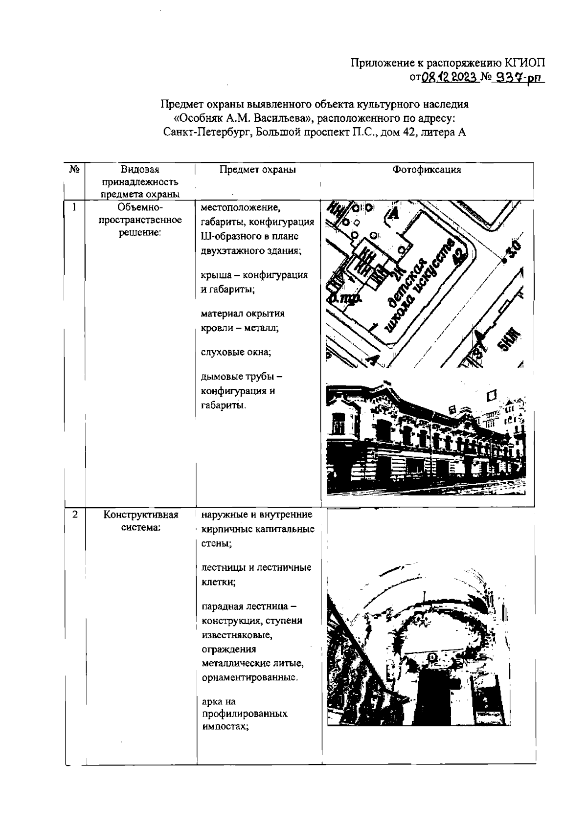
Распоряжение Комитета по государственному контролю, использованию и охране памятников истории и культуры Санкт-Петербурга от 08.12.2023 № 937-рп
"Об утверждении предмета охраны выявленного объекта культурного наследия "Особняк А.М. Васильева"
(Зарегистрирован 08.12.2023 № 36395)
Номер опубликования: 7801202312110061
Дата опубликования: 11.12.2023
Страница №2 из 6:
Увеличить