Распоряжение Комитета по государственному контролю, использованию и охране памятников истории и культуры Санкт-Петербурга от 06.12.2023 № 915-рп
"Об утверждении предмета охраны выявленного объекта культурного наследия "Дом и экипажный магазин К.М. и К.К. Неллисов"
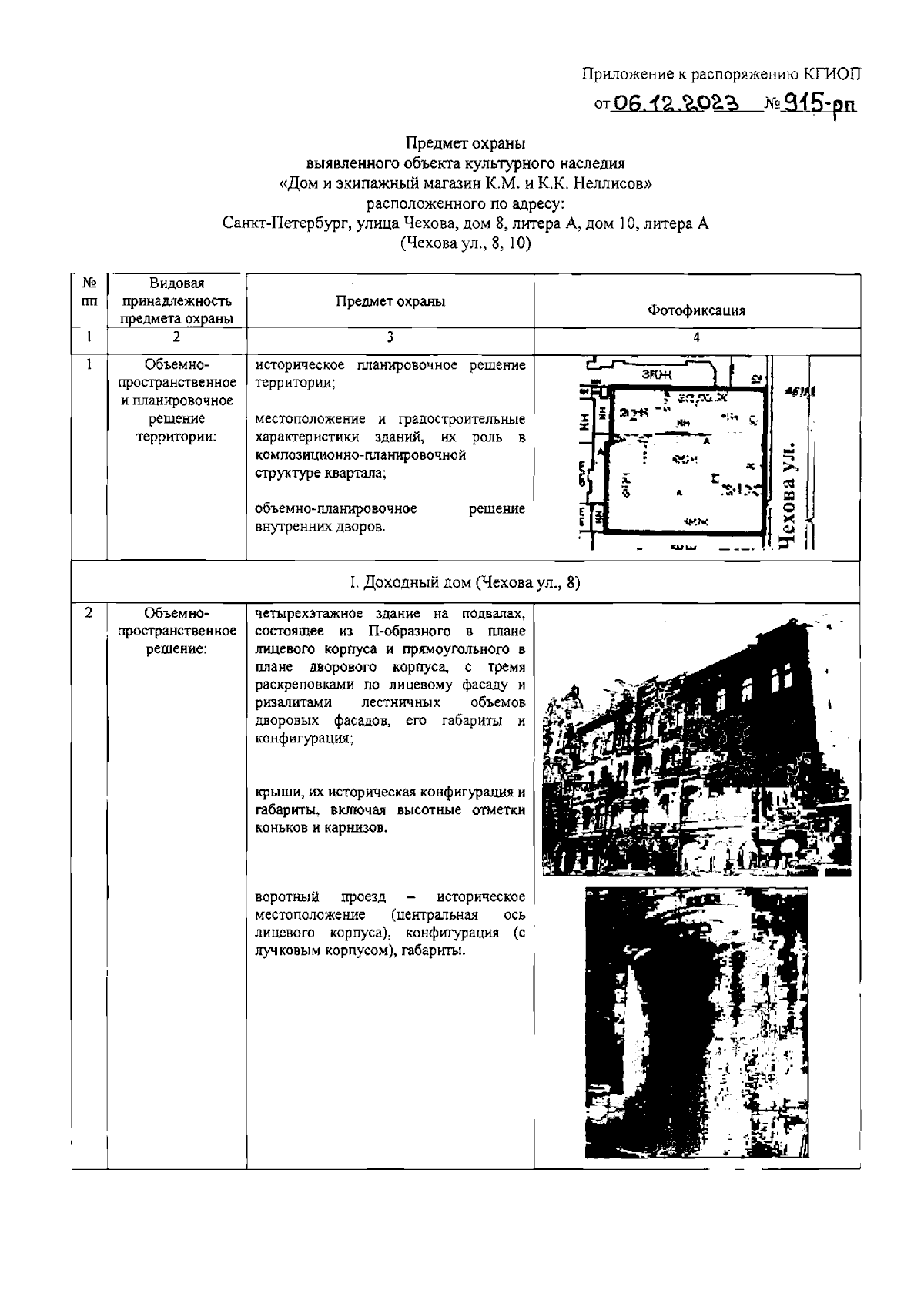
(Зарегистрирован 07.12.2023 № 36366)
"Об утверждении предмета охраны выявленного объекта культурного наследия "Дом и экипажный магазин К.М. и К.К. Неллисов"
(Зарегистрирован 07.12.2023 № 36366)
Номер опубликования: 7801202312110050
Дата опубликования:
11.12.2023
