Официальное опубликование правовых актов
ОФИЦИАЛЬНОЕ ОПУБЛИКОВАНИЕ
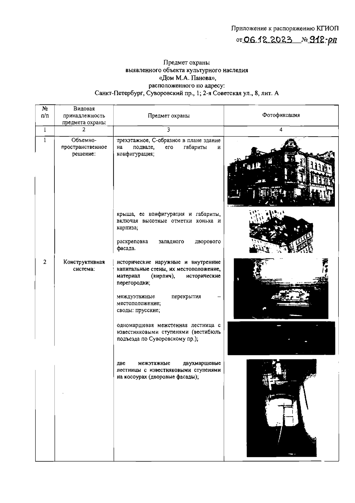
Распоряжение Комитета по государственному контролю, использованию и охране памятников истории и культуры Санкт-Петербурга от 06.12.2023 № 912-рп
"Об утверждении предмета охраны выявленного объекта культурного наследия "Дом М.А. Панова"
(Зарегистрирован 07.12.2023 № 36363)
Номер опубликования: 7801202312110048
Дата опубликования: 11.12.2023
Страница №2 из 8:
Увеличить