Официальное опубликование правовых актов
ОФИЦИАЛЬНОЕ ОПУБЛИКОВАНИЕ
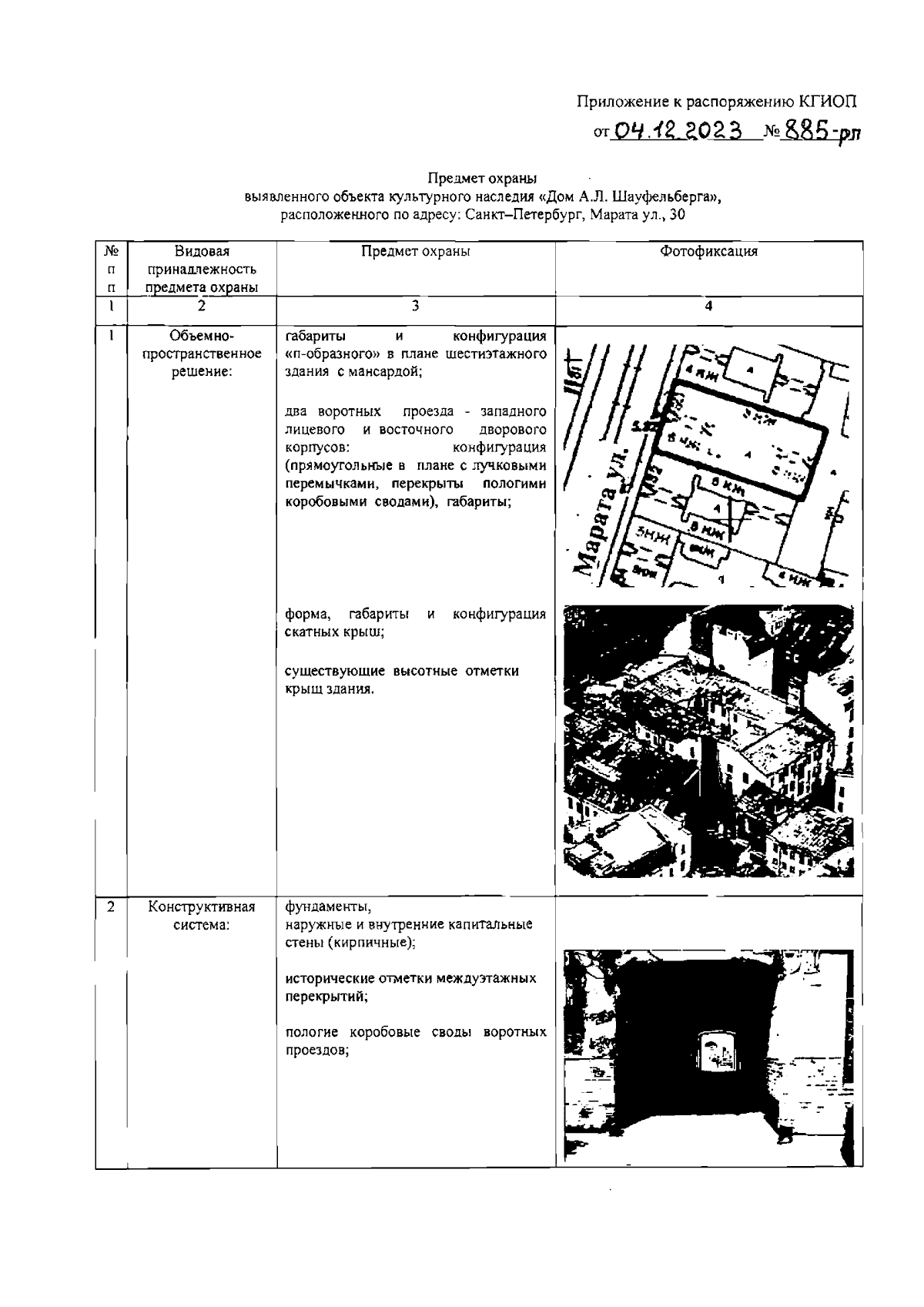
Распоряжение Комитета по государственному контролю, использованию и охране памятников истории и культуры Санкт-Петербурга от 04.12.2023 № 885-рп
"Об утверждении предмета охраны выявленного объекта культурного наследия "Дом А. Л. Шауфельберга"
(Зарегистрирован 06.12.2023 № 36335)
Номер опубликования: 7801202312110011
Дата опубликования: 11.12.2023
Страница №2 из 7:
Увеличить