Официальное опубликование правовых актов
ОФИЦИАЛЬНОЕ ОПУБЛИКОВАНИЕ
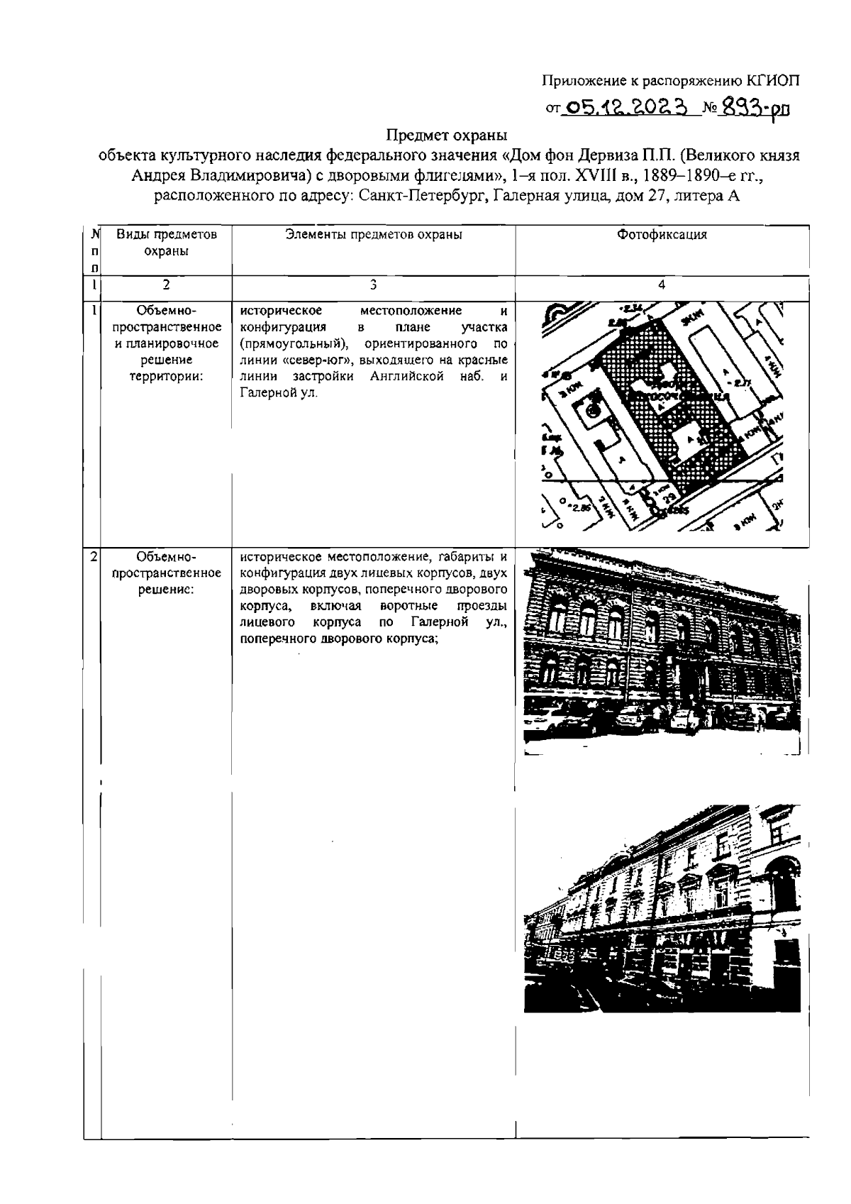
Распоряжение Комитета по государственному контролю, использованию и охране памятников истории и культуры Санкт-Петербурга от 05.12.2023 № 893-рп
"Об утверждении предмета охраны объекта культурного наследия федерального значения "Дом фон Дервиза П.П. (Великого князя Андрея Владимировича) с дворовыми флигелями"
(Зарегистрирован 05.12.2023 № 36324)
Номер опубликования: 7801202312080012
Дата опубликования: 08.12.2023
Страница №2 из 60:
Увеличить