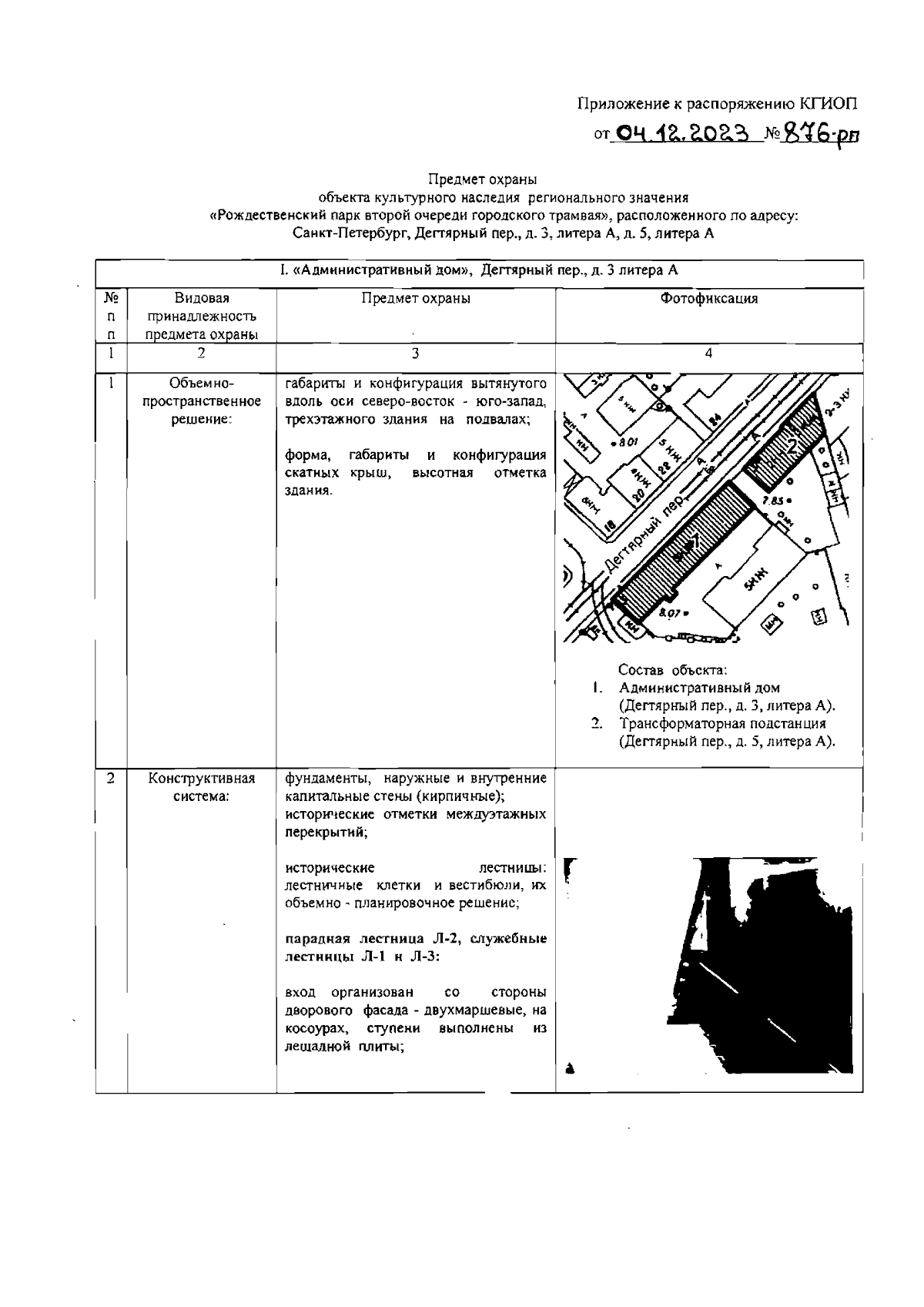
Распоряжение Комитета по государственному контролю, использованию и охране памятников истории и культуры Санкт-Петербурга от 04.12.2023 № 876-рп
"Об утверждении предмета охраны объекта культурного наследия регионального значения "Рождественский парк второй очереди городского трамвая"
(Зарегистрирован 04.12.2023 № 36310)
"Об утверждении предмета охраны объекта культурного наследия регионального значения "Рождественский парк второй очереди городского трамвая"
(Зарегистрирован 04.12.2023 № 36310)
Номер опубликования: 7801202312070037
Дата опубликования:
07.12.2023
