Официальное опубликование правовых актов
ОФИЦИАЛЬНОЕ ОПУБЛИКОВАНИЕ
Распоряжение Комитета по государственному контролю, использованию и охране памятников истории и культуры Санкт-Петербурга от 30.06.2023 № 508-рп
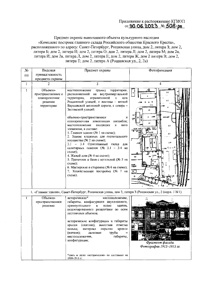
"Об утверждении предмета охраны выявленного объекта культурного наследия "Комплекс построек главного склада Российского общества Красного Креста"
(Зарегистрирован 03.07.2023 № 35283)
Номер опубликования: 7801202307060005
Дата опубликования: 06.07.2023
Страница №2 из 22:
Увеличить