Официальное опубликование правовых актов
ОФИЦИАЛЬНОЕ ОПУБЛИКОВАНИЕ
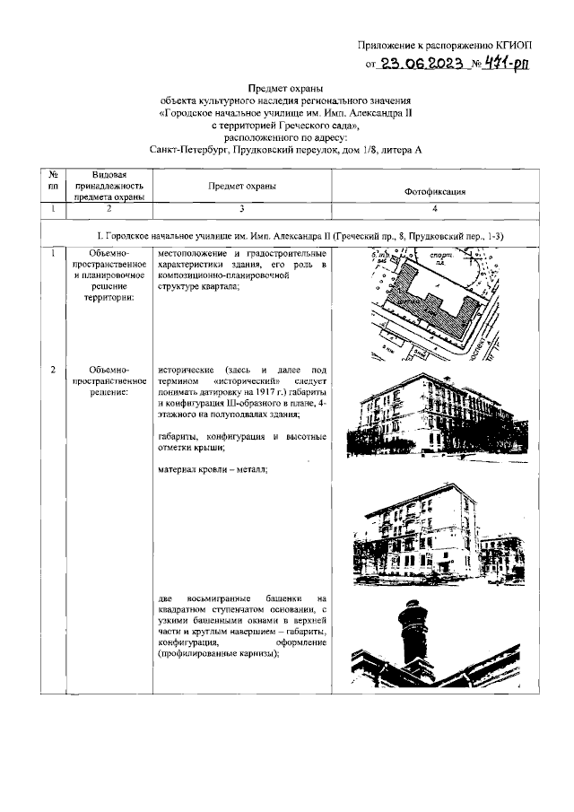
Распоряжение Комитета по государственному контролю, использованию и охране памятников истории и культуры Санкт-Петербурга от 23.06.2023 № 471-рп
"Об утверждении предмета охраны объекта культурного наследия регионального значения "Городское начальное училище им. Имп. Александра II с территорией Греческого сада"
(Зарегистрирован 26.06.2023 № 35219)
Номер опубликования: 7801202306270006
Дата опубликования: 27.06.2023
Страница №2 из 8:
Увеличить