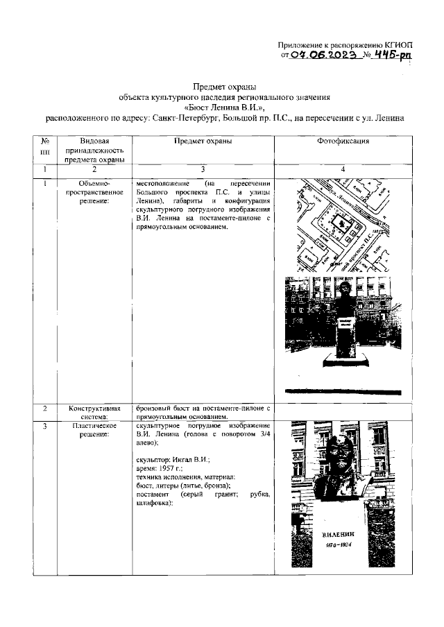
Распоряжение Комитета по государственному контролю, использованию и охране памятников истории и культуры Санкт-Петербурга от 07.06.2023 № 445-рп
"Об утверждении предмета охраны объекта культурного наследия регионального значения "Бюст Ленина В.И."
(Зарегистрирован 08.06.2023 № 35107)
"Об утверждении предмета охраны объекта культурного наследия регионального значения "Бюст Ленина В.И."
(Зарегистрирован 08.06.2023 № 35107)
Номер опубликования: 7801202306130021
Дата опубликования:
13.06.2023
