Официальное опубликование правовых актов
ОФИЦИАЛЬНОЕ ОПУБЛИКОВАНИЕ
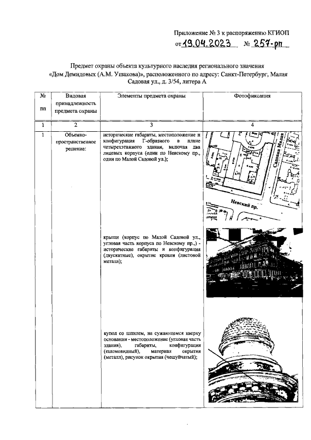
Распоряжение Комитета по государственному контролю, использованию и охране памятников истории и культуры Санкт-Петербурга от 19.04.2023 № 257-рп
"О включении выявленного объекта культурного наследия в единый государственный реестр объектов культурного наследия (памятников истории и культуры) народов Российской Федерации в качестве объекта культурного наследия регионального значения "Дом Демидовых (А.М. Ушакова)", об утверждении границ и режима использования территории объекта культурного наследия, об утверждении предмета охраны объекта культурного наследия"
(Зарегистрирован 20.04.2023 № 34684)
Номер опубликования: 7801202304260051
Дата опубликования: 26.04.2023
Страница №7 из 20:
Увеличить