Официальное опубликование правовых актов
ОФИЦИАЛЬНОЕ ОПУБЛИКОВАНИЕ
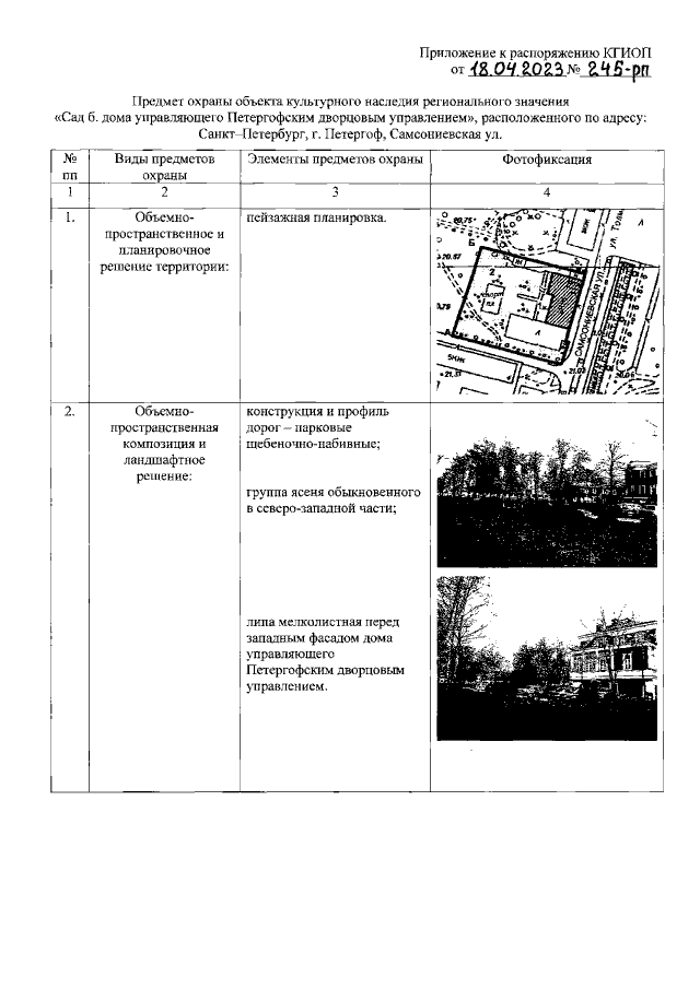
Распоряжение Комитета по государственному контролю, использованию и охране памятников истории и культуры Санкт-Петербурга от 18.04.2023 № 245-рп
"Об утверждении предмета охраны объекта культурного наследия регионального значения "Сад б. дома управляющего Петергофским дворцовым управлением"
(Зарегистрирован 18.04.2023 № 34661)
Номер опубликования: 7801202304200005
Дата опубликования: 20.04.2023
Страница №2 из 2:
Увеличить