Официальное опубликование правовых актов
ОФИЦИАЛЬНОЕ ОПУБЛИКОВАНИЕ
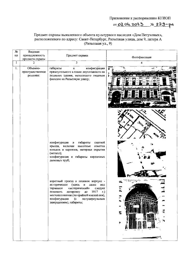
Распоряжение Комитета по государственному контролю, использованию и охране памятников истории и культуры Санкт-Петербурга от 07.04.2023 № 229-рп
"Об утверждении предмета охраны выявленного объекта культурного наследия "Дом Петуховых"
(Зарегистрирован 07.04.2023 № 34599)
Номер опубликования: 7801202304120013
Дата опубликования: 12.04.2023
Страница №2 из 11:
Увеличить