Официальное опубликование правовых актов
ОФИЦИАЛЬНОЕ ОПУБЛИКОВАНИЕ
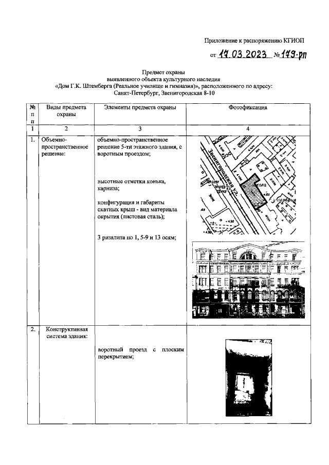
Распоряжение Комитета по государственному контролю, использованию и охране памятников истории и культуры Санкт-Петербурга от 17.03.2023 № 179-рп
"Об утверждении предмета охраны выявленного объекта культурного наследия "Дом Г.К. Штемберга (Реальное училище и гимназия)"
(Зарегистрирован 20.03.2023 № 34467)
Номер опубликования: 7801202303210016
Дата опубликования: 21.03.2023
Страница №2 из 19:
Увеличить